EasyManua.ls Logo

IHI 9VX3 - Page 34

IHI 9VX3
136 pages
Print Icon
To Next Page IconTo Next Page
To Next Page IconTo Next Page
To Previous Page IconTo Previous Page
To Previous Page IconTo Previous Page
Loading...
A
1
34
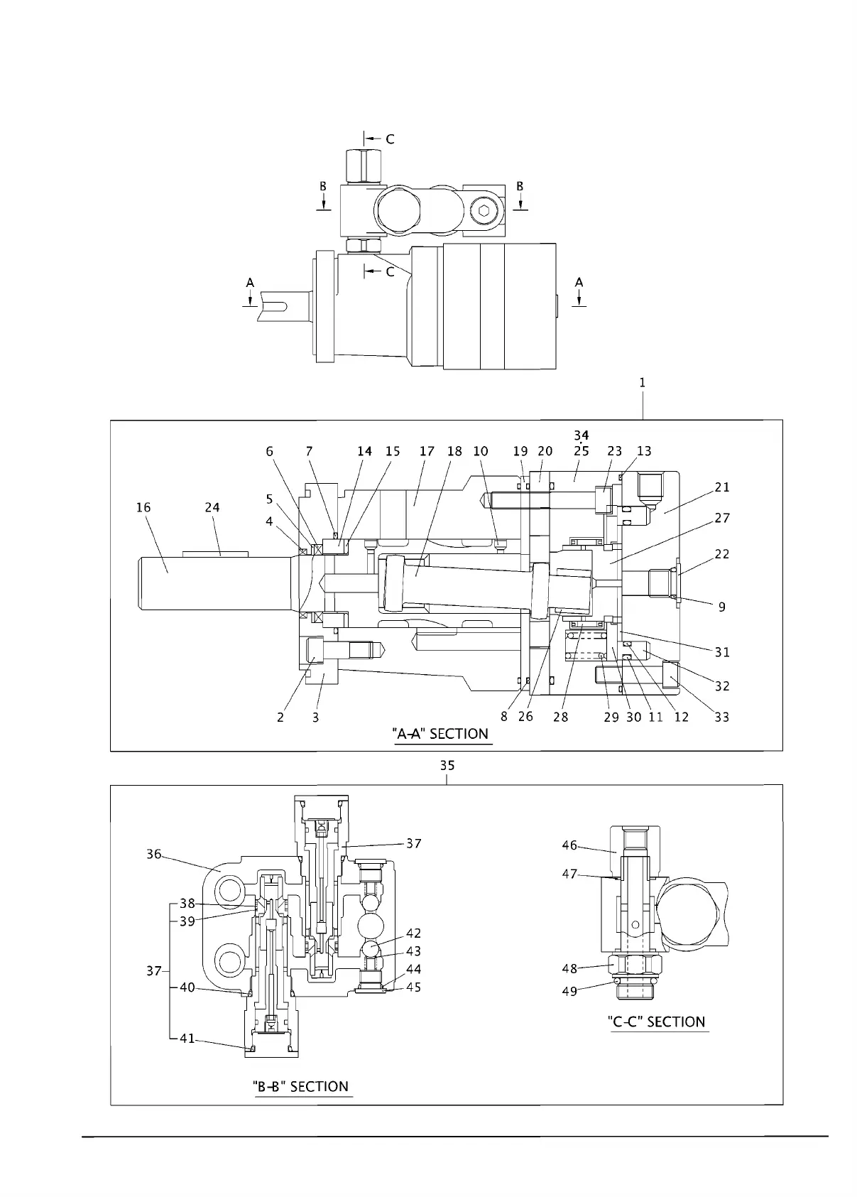
6 7 14 15 17 18 10 19 20 25 23 13
35
"В" SECTION

Related product manuals