EasyManua.ls Logo

IHP RC-S-TOUCH - Program Function

IHP RC-S-TOUCH
8 pages
Print Icon
To Next Page IconTo Next Page
To Next Page IconTo Next Page
To Previous Page IconTo Previous Page
To Previous Page IconTo Previous Page
Loading...
IHP: RC-S-TOUCH
PROGRAM FUNCTION
This remote has two default program segments (P1) and (P2): A weekday segment and a weekend segment. To enter
program mode, push the PROG button or touch the PROGRAM portion of the touchscreen; the word PROGRAM will
appear above the display time to indicate program operation is active.
The factory presets are:
WEEKENDS
“P1 ON” 6:00 AM at 72ºF
“P1 OFF” 10:00 AM
“P2 ON” 5:00 PM at 72ºF
“P2 OFF” 10:00 PM
WEEKDAYS
“P1 ON” 5:00 AM at 72ºF
“P1 OFF” 9:00 AM
“P2 ON” 4:00 PM at 72ºF
“P2 OFF” 10:00 PM
The user may override the program function by putting the remote in MANUAL ON mode. When the user turns the remote
back to OFF mode, the remote will resume regular program mode (the word PROGRAM is above the display time, see
gure #10). To turn the program function OFF, touch the PROGRAM portion on the touchscreen, or press the
PROG Button at the bottom of the transmitter. The word PROGRAM will disappear from the LCD screen.
REV. 3-18-14 Page 6
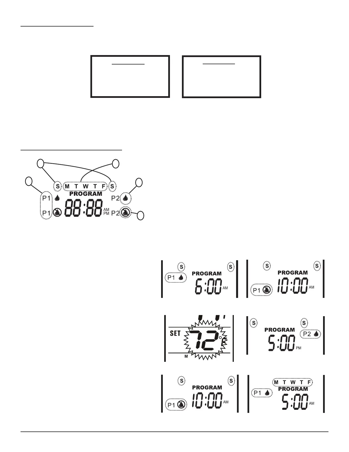
EDITING PROGRAM SETTINGS
NOTE: P1 CAN ONLY BE SET FROM 12:00AM to 12:00PM
P2 CAN ONLY BE SET FROM 12:00PM to 12:00 AM
Program Segment1. : (P1) Program 1 (left side of LCD screen), or
(P2)Program 2 (right side of LCD screen).
Weekend Segment2. : Saturday and Sunday.
Weekday Segment3. : Monday through Friday.
Flame ON4. : Flame icon shows your appliance to turn ON.
Flame OFF5. : Flame icon shows your appliance to turn OFF.
1
4
5
2
3
Fig. 16
To edit the program settings press either the PROG button or touch the Program section of the touch screen and
holdfor5seconds,theprogramsectionoftheLCDscreenwillbegintoash.
P1 ON and “S S” (Weekend Segment) should be
ashing. Select the time you want your appliance to
turn ON by using the UP and DOWN touch buttons.
Then press SET (See Fig. 17).
P1 OFF will be ashing. Select the time you want your
appliance to turn OFF. Then press SET (See Fig.18).
The set temperature will begin to ash. Use the UP and
DOWN touch buttons to select a temperature for P1,
then press SET (See Fig. 19).
Now the P2 ON will begin to ash. Select the time you
want your appliance to turn ON by using the UP and
DOWN touch buttons. Then press SET. (See Fig. 20).
P2 OFF will be ashing. Select a time you want your
appliance to turn OFF. Then press SET (See Fig. 21).
The set temperature will begin to ash. Use the UP and
DOWN touch buttons to select a temperature for P2,
then press SET (See Fig. 19).
“MTWTF” (Weekday Segment) will replace “S S”. P1
ON will be ashing. Repeat the above steps to set the
ON and OFF times and set temperatures for weekdays.
(See Fig. 22)
Fig. 17
Fig. 18
Fig. 19
Fig. 20
Fig. 21
Fig. 22
P/N 900259-00 Rev. A