EasyManua.ls Logo

IKEA MAGEBO - Page 51

IKEA MAGEBO
142 pages
Print Icon
To Next Page IconTo Next Page
To Next Page IconTo Next Page
To Previous Page IconTo Previous Page
To Previous Page IconTo Previous Page
Loading...
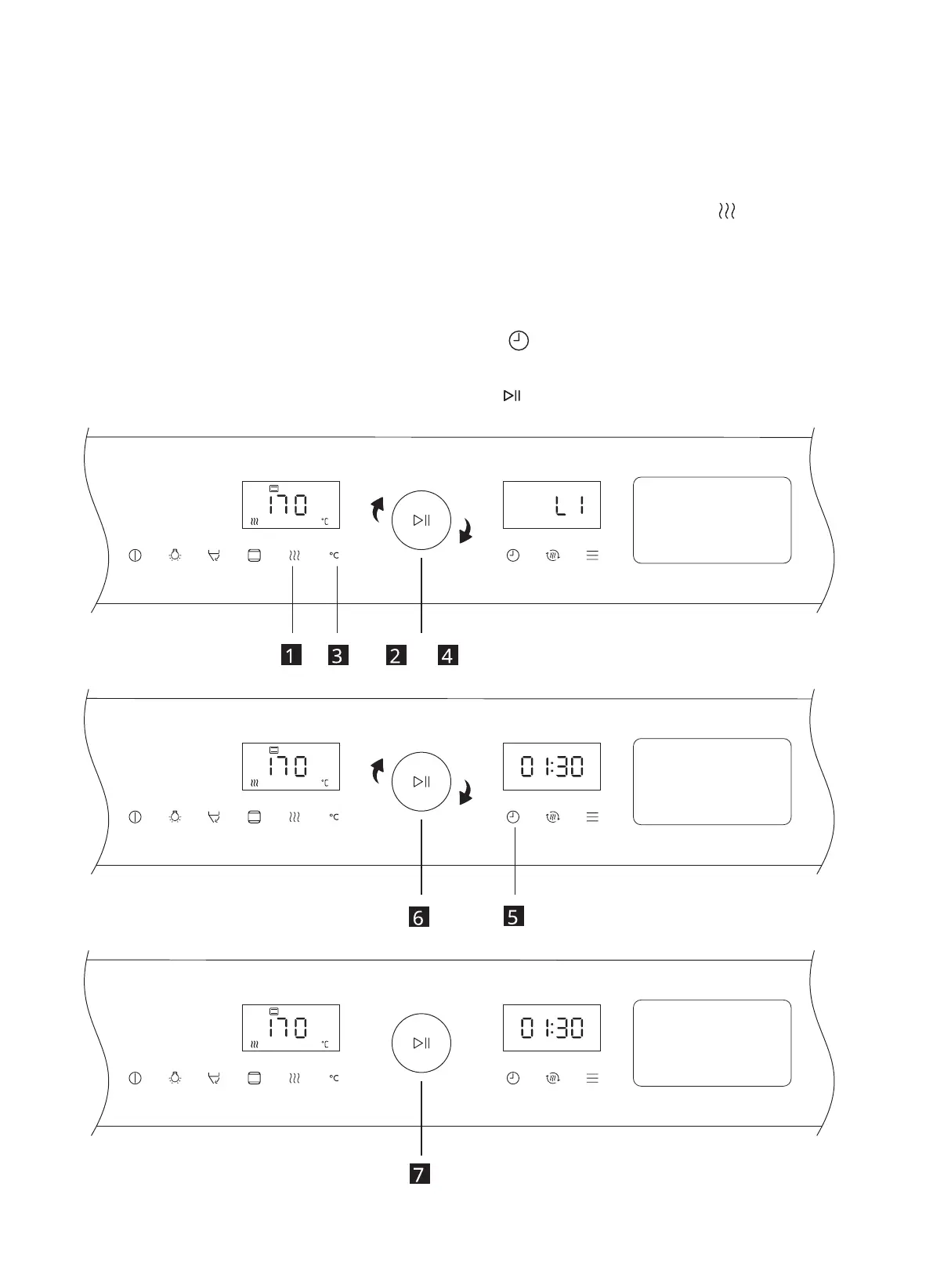
Dampfunterstützung
1. Um das Garen mit Dampfunterstützung auszuwählen, drücken Sie die -Taste.
2. Für die Einstellung der Zubereitungstemperatur drehen Sie den Drehknopf.
3. Für die Einstellung der Dampfmenge drücken Sie die „°C“-Taste.
4. Durch Drehen des Drehknopfes wählen Sie die gewünschte Dampfmenge aus
„L1“– „L3“ (Dampfmenge zunehmend) aus.
5. Für die Einstellung der Garzeit drücken Sie die -Taste.
6. Für die Einstellung der Zubereitungszeit drehen Sie den Drehknopf.
7. Zum Starten der Zubereitung drücken Sie die -Taste des Drehknopfes.
ECO
ECO
ECO
51
DEUTSCH

Related product manuals