EasyManua.ls Logo

IKEA RAFFINERAD - Page 77

IKEA RAFFINERAD
140 pages
Print Icon
To Next Page IconTo Next Page
To Next Page IconTo Next Page
To Previous Page IconTo Previous Page
To Previous Page IconTo Previous Page
Loading...
FRANÇAIS 77
atteinte progressivement, c'est pourquoi la
durée de cuisson est légèrement plus longue
que celle indiquée dans le tableau de
cuisson.
Vous pouvez programmer l'heure de n de
cuisson désirée en retardant l'allumage du
four de 23 heures et 59 minutes maximum à
partir de l'heure courante. Ceci n'est possible
qu'après avoir programmé une durée de
cuisson.
Après avoir introduit la durée de la cuisson,
l'heure de n de cuisson s'afche (par
exemple 15:45) et le symbole
clignote.
1 2
Pour différer la n de la cuisson, en différant
l'allumage du four, procédez comme suit :
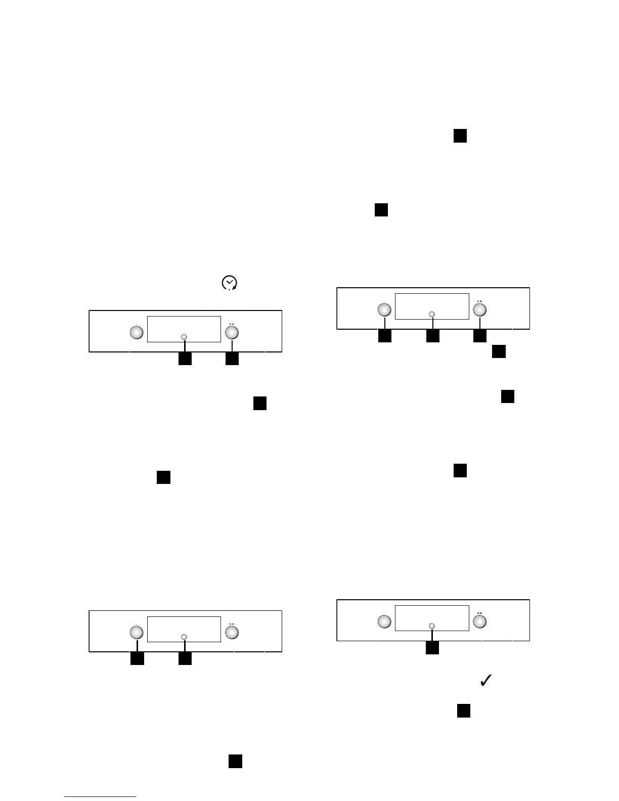
1. Tournez le bouton "Navigation"
B
jusqu'à la visualisation de l'heure à
laquelle vous désirez terminer la cuisson
(par exemple 16:00).
2. Conrmez la valeur choisie en appuyant
sur la touche
C
: les deux points de
l'heure de n de cuisson clignotent pour
indiquer que le réglage a été effectué
correctement.
3. Le four diffèrera automatiquement le
départ de manière à terminer la cuisson
à l'heure préréglée.
Minuteur
1 2
Cette fonction ne peut être utilisée que
lorsque le four est éteint et est utile, par
exemple, pour contrôler le temps de cuisson
des pâtes.
La durée maximum pouvant être réglée est
de 23 heures et 59 minutes.
1. Avec le bouton "Fonctions"
A
sur zéro,
tournez le bouton "Navigation" jusqu'à
l'afchage de la durée désirée.
2. Appuyez sur la touche
C
pour lancer
le compte à rebours. Une fois la durée
programmée écoulée, l'indication "END"
s'afche et un signal sonore retentit.
Pour l'interrompre, appuyez sur la
touche
C
(l'heure courante apparaît sur
l'afchage).
Sélection des fonctions spéciales
1 2 3
1. Tournez le bouton "Fonctions"
A
jusqu'à ce que "DEFROST" et le symbole
correspondant s'afchent.
2. Tournez le bouton "Navigation"
B
pour parcourir la liste des fonctions :
DÉCONGÉLATION, MAINTIEN AU
CHAUD, LEVAGE DE LA PÂTE, ÉCO
CHALEUR PULSÉE.
3. Appuyez sur la touche
C
pour conrmer.
Dorage
À la n de la cuisson, pour les fonctions qui
le permettent, l'afcheur propose de dorer
davantage votre plat. Cette fonction ne peut
être activée que si vous avez réglé une durée
de cuisson.
1
1. Une fois la durée de cuisson écoulée,
l'afchage montre : "PRESS
TO
BROWN" (Appuyer pour dorer). En
appuyant sur la touche
C
, le four
lance le cycle de brunissage pendant
5 minutes. Cette fonction ne peut être
exécutée que deux fois.

Other manuals for IKEA RAFFINERAD

Related product manuals