EasyManua.ls Logo

IKEA SMAKSAK Series

IKEA SMAKSAK Series
72 pages
To Next Page IconTo Next Page
To Next Page IconTo Next Page
To Previous Page IconTo Previous Page
To Previous Page IconTo Previous Page
Loading...
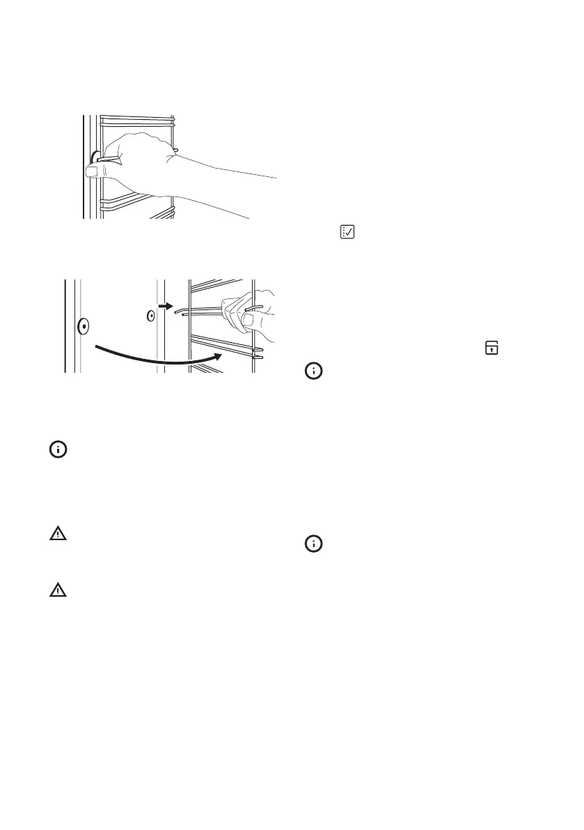
2. Ziehen Sie das Einhängegitter hinten
von der Seitenwand weg und nehmen
Sie es heraus.
2
1
Führen Sie zum Einsetzen der entfernten
Zubehörteile die oben beschriebenen
Schritte in umgekehrter Reihenfolge durch.
Die Haltestifte der
Teleskopauszüge müssen nach
vorne zeigen.
Pyrolyse
WARNUNG! Der Backofen wird
sehr heiß. Es besteht
Verbrennungsgefahr.
Vorsicht! Verwenden Sie das
Kochfeld nicht während der
Pyrolyse. Andernfalls kann der
Backofen beschädigt werden.
Vor dem Einschalten der Pyrolyse:
Entfernen Sie alle Zubehörteile und die
herausnehmbaren Einhängegitter.
Reinigen Sie den Backofenboden mit
warmem Wasser und einem milden
Spülmittel.
Reinigen Sie die innere Glasscheibe mit
warmem Wasser und einem weichen
Tuch.
Schließen Sie die Backofentür.
1. Schalten Sie die Pyrolyse-Funktion ein.
Siehe Kapitel „Täglicher Gebrauch“,
„Backofenfunktionen“.
2. Wenn das Display P1 anzeigt, drücken
Sie , um den Vorgang zu starten.
Sie können den Beginn der Reinigung
mit der Funktion „Ende“ verzögern.
Während der Pyrolyse ist die Lampe
ausgeschaltet.
Programmdauer:1 Std. 30 Min..
3. Sobald der Backofen die voreingestellte
Temperatur erreicht hat, wird die Tür
verriegelt. Im Display erscheint
Öffnen Sie erst nach Abschluss
des Vorgangs die Backofentür,
da sonst der Vorgang
abgebrochen wird. Wenn der
Backofen abkühlt, wird die Tür
automatisch entriegelt.
4. Nach Abschluss der pyrolytischen
Reinigung zeigt das Display die
Tageszeit an. Die Backofentür bleibt
verriegelt. Sobald der Backofen
abgekühlt ist, ertönt ein Signal und die
Backofentür wird entriegelt.
Zum vorzeitigen Ausschalten der
Pyrolyse drehen Sie den Knopf
für die Backofenfunktionen in die
Stellung Aus.
Erinnerungsfunktion Reinigen
Durch ein 10 Sekunden langes Blinken von
PYR im Display nach jedem Ein- und
Ausschalten des Backofens werden Sie auf
die Notwendigkeit einer Pyrolysereinigung
hingewiesen.
DEUTSCH
59

Related product manuals