EasyManua.ls Logo

IMER TR 225 N - Descrizione Generale

IMER TR 225 N
Print Icon
To Next Page IconTo Next Page
To Next Page IconTo Next Page
To Previous Page IconTo Previous Page
To Previous Page IconTo Previous Page
Loading...
3
IMER INTERNATIONAL S.p.A.
TR 225 N
Caro cliente,
ci complimentiamo per il suo acquisto dell’elevatore IMER, risultato di
DQQLGLHVSHULHQ]DqXQDPDFFKLQDGLPDVVLPDDI¿GDELOLWjHGRWDWD
di soluzioni tecniche innovative.
23(5$5(,16,&85(==$eIRQGDPHQWDOHDL¿QLGHOOD
sicurezza leggere attentamente le seguenti istruzioni.
Il presente manuale di USO E MANUTENZIONE deve essere
custodito dal responsabile di cantiere, sempre disponibile per la
consultazione.
Il manuale è da considerarsi parte della macchina e deve essere
FRQVHUYDWRSHUIXWXULULIHULPHQWL(1,62¿QRDOODGLVWUX]LRQH
della macchina stessa. In caso di danneggiamento o smarrimento
potrà essere richiesto al costruttore un nuovo esemplare.
Il manuale fornisce istruzioni per l’installazione, l’uso, la manutenzione
dell'apparecchio con importanti avvertenze.
Comunque è da ritenersi indispensabile una adeguata esperienza e
conoscenza della macchina da parte del montatore e dell’ utilizzatore.
$I¿QFKpVLDSRVVLELOHJDUDQWLUHODVLFXUH]]DGHOO¶RSHUDWRUHODVLFXUH]]D
di funzionamento e una lunga durata dell’apparecchio, devono essere
rispettate le istruzioni del manuale, unitamente alle norme di sicurezza
e prevenzione degli infortuni sul lavoro secondo la legislazione vigente
(uso di calzature e abbigliamento adeguati, uso di elmetti, di cinture
di sicurezza, predisposizione di parapetti prospicienti il vuoto, ecc.).
eYLHWDWRDSSRUWDUHPRGL¿FKHGLTXDOVLDVLQDWXUD DOOD
struttura metallica o impiantistica della macchina.
IMER INTERNATIONAL declina ogni responsabilità in caso di non
osservanza delle leggi che regolano l’uso di apparecchi di solleva-
mento, in particolare: uso improprio, difetti di alimentazione, carenza
GLPDQXWHQ]LRQHPRGL¿FKHQRQDXWRUL]]DWHPDQRPLVVLRQLHRGDQ-
neggiamenti, inosservanza parziale o totale delle istruzioni contenute
in questo manuale.
-
,0(5,17(51$7,21$/KDLO GLULWWRGLPRGL¿FDUH OH
caratteristiche dell'elevatore e/o i contenuti del presente
manuale, senza l'obbligo di aggiornare la macchina e/o i
manuali precedenti.
1. DESCRIZIONE GENERALE
- Avvertenza: Operare con una macchina di sollevamento
richiede grande attenzione e perizia, il comando può essere
DI¿GDWRVRORDSHUVRQDOHHVSHUWRRFKHDEELDULFHYXWROHQHFHV-
sarie istruzioni.
- 1) La macchina è concepita per il sollevamento di materiali
e per essere utilizzata nei cantieri di costruzioni edili.
- 2) É vietato l’uso per il sollevamento di persone e/o di
animali.
- 3) Non deve essere utilizzato in ambienti ove esista il pe-
ricolo d’esplosioni o incendio o in ambienti di scavi sotterranei.
/DPDFFKLQDqFRVWLWXLWDHVVHQ]LDOPHQWHGD¿J
- Tamburo montato sull’albero del riduttore (rif.3) da una fune
metallica (rif.1) da un gancio di sollevamento (rif.2) e dal con-
trappeso (rif.10).
- Motoriduttore composto da un motore elettrico autofrenante
(rif. 4) e riduttore ad ingranaggi a bagno d’olio (rif. 14).
- Impianto elettrico (rif. 5).
/HYDGLFRPDQGR¿QHFRUVDVDOLWDULIHGLVFHVDULI
- Telaio portante girevole (rif.7) con braccio estensibile (rif.6) e maniglia
di bloccaggio (rif.8), leva di bloccaggio telaio (rif.11).
- Interruttore termico (rif. 17) che arresta l’elevatore quando la cor-
rente supera il valore nominale (per ripristinarlo occorre schiacciarlo).
- Pulsantiera da 1,5 m a comando diretto a tre pulsanti (rif.15).
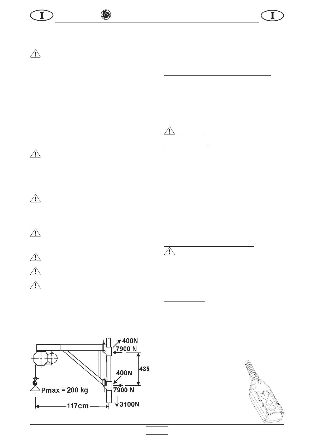
2. STRUTTURE DI SUPPORTO IMER PER L ELEVATORE
La struttura su cui l’elevatore viene applicato deve essere in grado di
VRSSRUWDUHOHVROOHFLWD]LRQLLQGLFDWHLQ¿JFKHVLJHQHUDQRGXUDQWH
il funzionamento.
La forza di 400N è perpendicolare a quella di 7900N. Poichè l'elevatore
SXzUXRWDUHVXLSHUQLGLVRVWHJQRWDOLIRU]HGHYRQRHVVHUHYHUL¿FDWH
in tutte le posizioni che può assumere l'elevatore.
,0(5GLVSRQHGLXQDDPSLDVFHOWDGLVXSSRUWLUDSSUHVHQWDWLLQ¿JXUD
7 - 8 - 9 - 10 - 11 e 12, previsti per le diverse applicazioni di cantiere,
progettati in modo da trasmettere idoneamente alle strutture questi
carichi.
- ATTENZIONE
La dichiarazione CE di conformità allegata al presente manuale, è
valida solo se vengono utilizzati tutti componenti di costruzione
IMER (elevatore e relative strutture di supporto).
Se questa condizione non è rispettata, tale dichiarazione è valida
solo per l'elevatore.
Chi esegue l’installazione dovrà compilare una nuova dichia-
UD]LRQH&(GL FRQIRUPLWj GRSRDYHUYHUL¿FDWR WXWWL LUHTXLVLWL
contenuti nella Direttiva Macchine 2006/42/CE per l'insieme
dell'elevatore e supporto.
Le forze, indicate agli appoggi di ciascun supporto, dovranno essere
FRQVLGHUDWHQHOFDOFRORGLYHUL¿FDGHOOHVWUXWWXUHGLVRVWHJQRSRQWHJJL
WHUUD]]HVRI¿WWLHFFHIIHWWXDWRGDWHFQLFRFRPSHWHQWH
In caso di applicazione dell’elevatore su ponteggio, questo deve
HVVHUHRSSRUWXQDPHQWHFRQWURYHQWDWRYHGHUH¿J
Per l’installazione dei diversi supporti, seguire le istruzioni di cui
ciascuno è fornito.
Nel caso si utilizzino dei supporti con portata diversa dall’elevatore,
VXOO¶LQVLHPH GHOO¶DSSDUHFFKLR LQVWDOODWR GRYUj HVVHUH DI¿VVD EHQ
visibile la portata ammissibile in funzione dell’elemento più critico
del sistema.
2.1 PREDISPOSIZIONE DEL POSTO DI LAVORO
- Il lato dell’ apertura di accesso del carico al piano deve
essere protetto con un parapetto di altezza superiore a 1m ed
arresto al piede.
- Accertarsi che la corsa di lavoro sia sgombra per tutta l’altezza e
SUHQGHUHOHSUHFDX]LRQLQHFHVVDULHSHUFKpQHVVXQRSRVVDVSRUJHUVL
dai piani intermedi.
'HOLPLWDUHO¶DUHDGLFDULFRLQIHULRUHSHUFKpQHVVXQRSRVVDVRVWDUYL
durante il sollevamento.
0217$**,2¿J
1) Il montaggio dell’elevatore, così come il suo utilizzo, richiede per-
sonale esperto o che abbia ricevuto le necessarie istruzioni.
Dato il peso dell’elevatore, devono essere impiegati un numero di
operatori tali da non creare situazioni di pericolo durante il suo tra-
sporto ed installazione.
2) L’altezza massima di lavoro (30 m) è quella relativa alla posizione
del motoriduttore corrispondente al perno superiore del supporto.
3RVL]LRQDUHLOVXSSRUWRVXOODVWUXWWXUDGHOO¶HGL¿FLRYHUL¿FDUHDOOL-
neamento verticale dei perni di sostegno (rif.12) quindi, sollevando la
leva di bloccaggio (rif.11) inserire le boccole del telaio portante (rif. 7)
sui perni ed applicare la copiglia di sicurezza
ULIDQWLV¿ODPHQWR
4) Montare il braccio estensibile (rif. 6) sul
WHODLRSRUWDQWHULI¿QRDOODSRVL]LRQHGL
minima estensione, avvitare la maniglia con
URQGHOODQHOIRUR¿OHWWDWRDWWUDYHUVRO¶DVRODH
serrarla (rif.8).
5) Nel caso di montaggio su supporto a
FDYDOOHWWR¿VVDUHLOEUDFFLRHVWHQVLELOHULI
 DO FDUUHOOR PHGLDQWH L IRUL GL ¿VVDJJLR
SUHYLVWLULI¿JXWLOL]]DQGRYLWLHGDGLDX-
tobloccanti. Seguire per il resto le istruzioni
fornite con il cavalletto.
ISTRUZIONI ORIGINALI
Fig. 3
Fig.2

Related product manuals