EasyManua.ls Logo

Impex COMPETITOR CG 1400 - Step 9: Butterfly Cable Routing

Impex COMPETITOR CG 1400
24 pages
Print Icon
To Next Page IconTo Next Page
To Next Page IconTo Next Page
To Previous Page IconTo Previous Page
To Previous Page IconTo Previous Page
Loading...
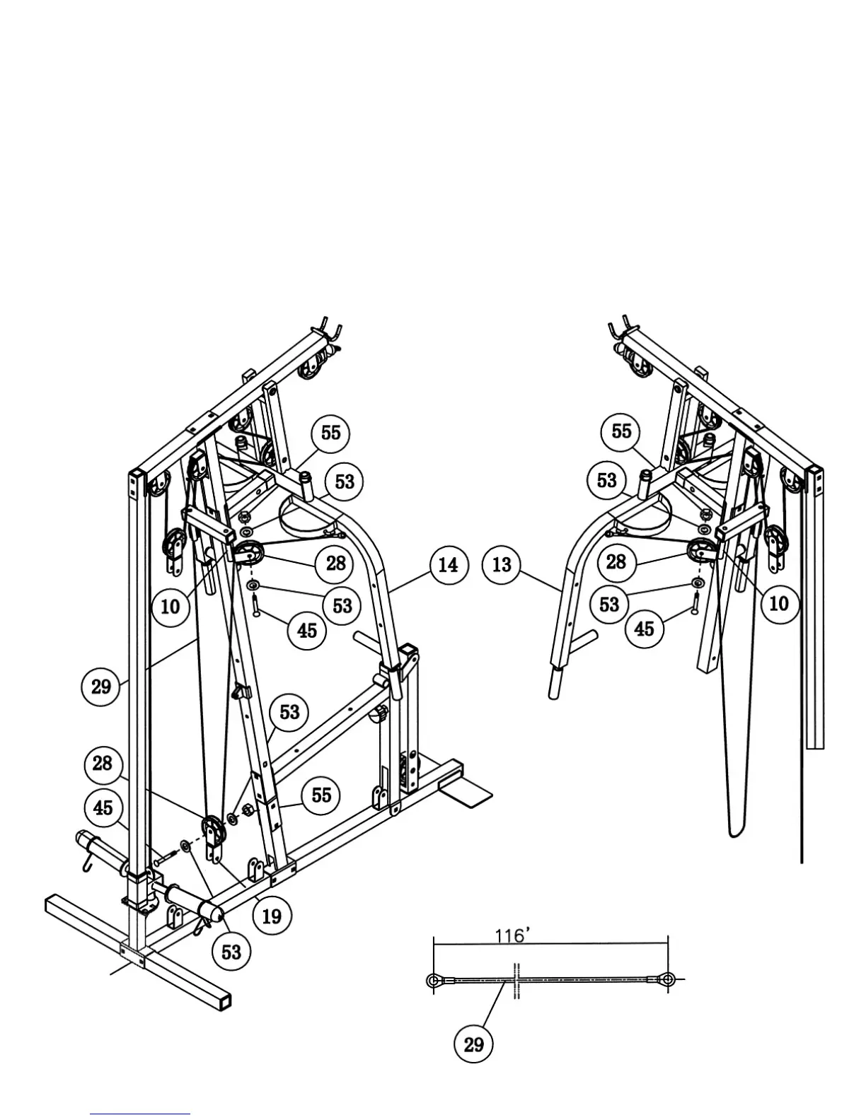
STEP 9 (See Cable Loop Diagram & Diagram 9)
A.) Attach one end of the 116” Butterfly Cable (#29) to the Hook on the Right Butterfly Arm
(#14). Pull the Cable to the Butterfly Pulley Bracket (#10). Attach a Pulley (#28) to the
Bracket. Secure it with one M10 x 1 ¾” Allen Bolt (#45), two ¾” Washers (#53), and one
M10 Aircraft Nut (#55).
B.) Draw the Cable around the Pulley then downward. Attach a Pulley to the Cable. Then attach
the Pulley to an Angled Floating Pulley Bracket (#19). Secure the Pulley to the Bracket with
one M10 x 1 ¾” Allen Bolt (#45), two ¾” Washers (#53), and one M10 Aircraft Nut (#55).
Let the Bracket hanging for now.
C.) Draw the Cable underneath and around the Pulley then upward to the open Butterfly Pulley
Bracket (#10) on the other side. Repeat Step A & B above to install the Cable.
DIAGRAM 9
16

Related product manuals