EasyManua.ls Logo

Impex IGS-6201 - Page 13

Impex IGS-6201
45 pages
Print Icon
To Next Page IconTo Next Page
To Next Page IconTo Next Page
To Previous Page IconTo Previous Page
To Previous Page IconTo Previous Page
Loading...
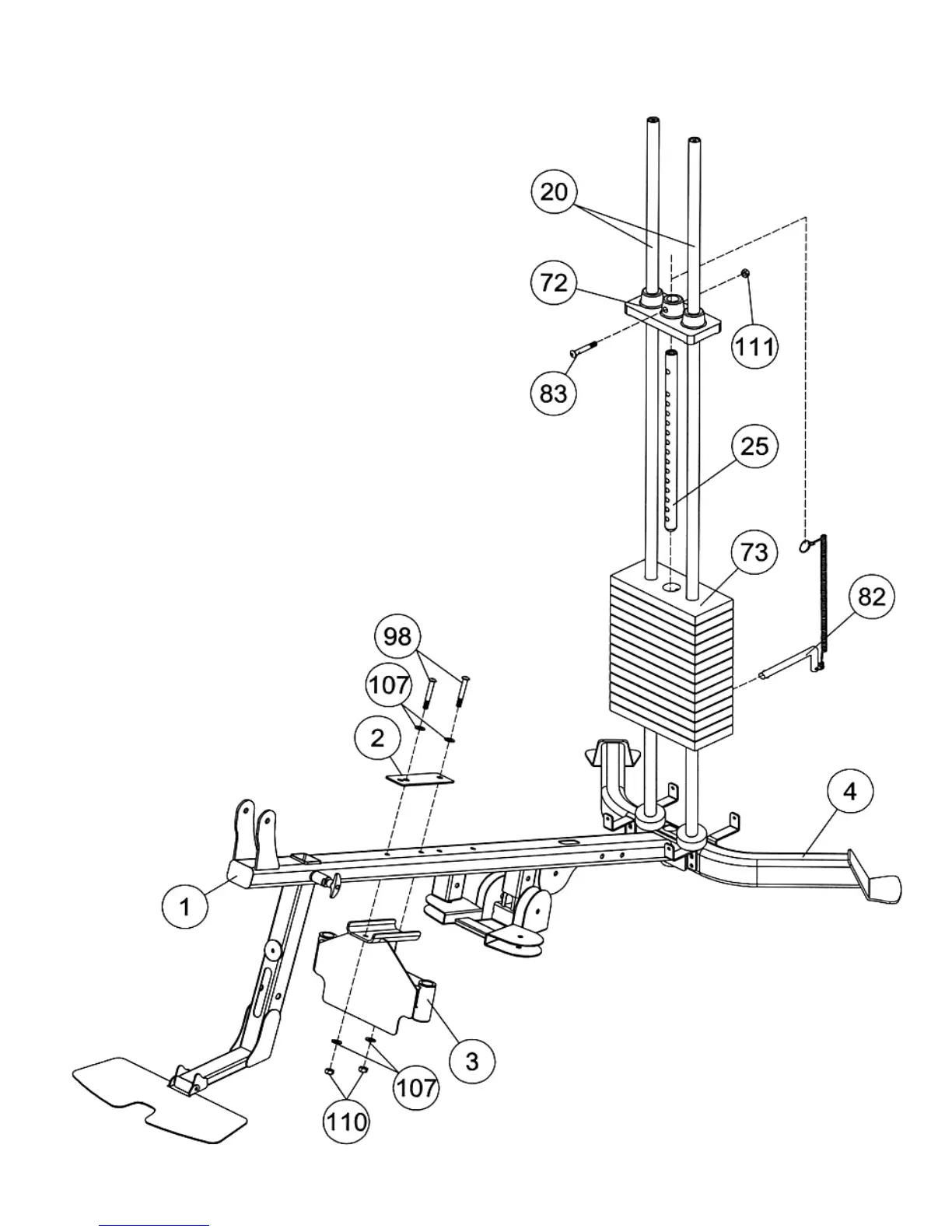
DIAGRAM 2
12

Related product manuals