EasyManua.ls Logo

Impex MWM 982 - Page 8

Impex MWM 982
26 pages
Print Icon
To Next Page IconTo Next Page
To Next Page IconTo Next Page
To Previous Page IconTo Previous Page
To Previous Page IconTo Previous Page
Loading...
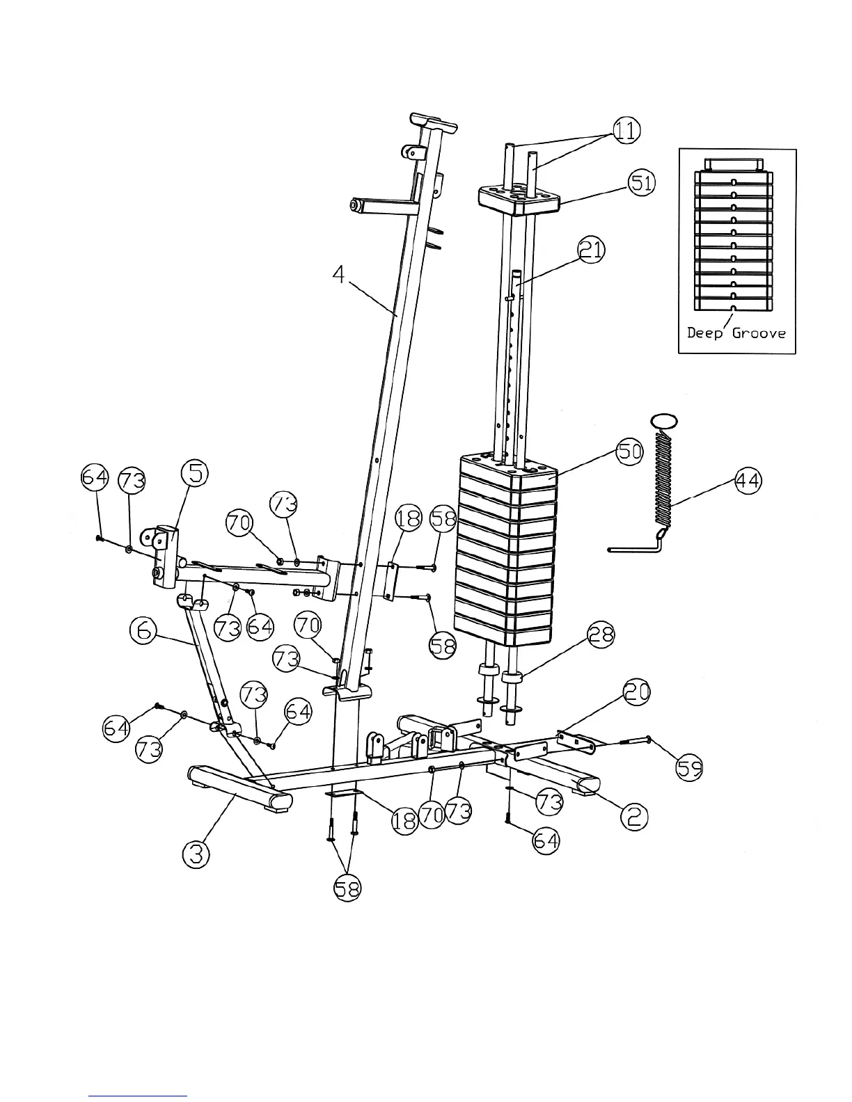
DIAGRAM 1
7

Related product manuals