EasyManua.ls Logo

Impex PHC-PWR9 - Page 15

Impex PHC-PWR9
22 pages
Print Icon
To Next Page IconTo Next Page
To Next Page IconTo Next Page
To Previous Page IconTo Previous Page
To Previous Page IconTo Previous Page
Loading...
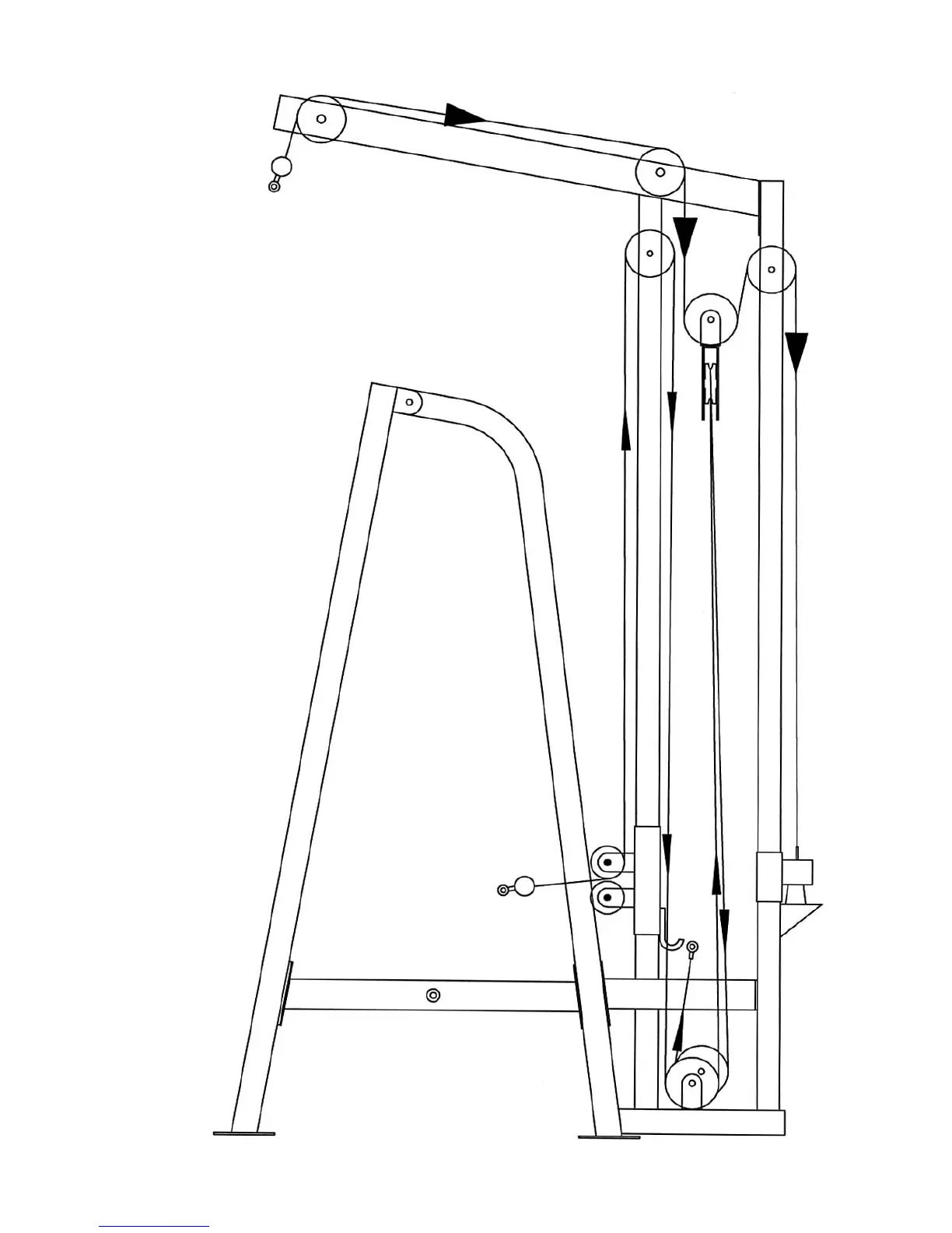
CABLE LOOP DIAGRAM
14

Related product manuals