EasyManua.ls Logo

Infinity Total Solutions TSS-450 - SUBWOOFER CONNECTIONS; Connecting to LFE;Subwoofer Output; Connecting to Subwoofer Output Only; Connecting via High-Level Inputs

Infinity Total Solutions TSS-450
12 pages
Print Icon
To Next Page IconTo Next Page
To Next Page IconTo Next Page
To Previous Page IconTo Previous Page
To Previous Page IconTo Previous Page
Loading...
5
TSS-450
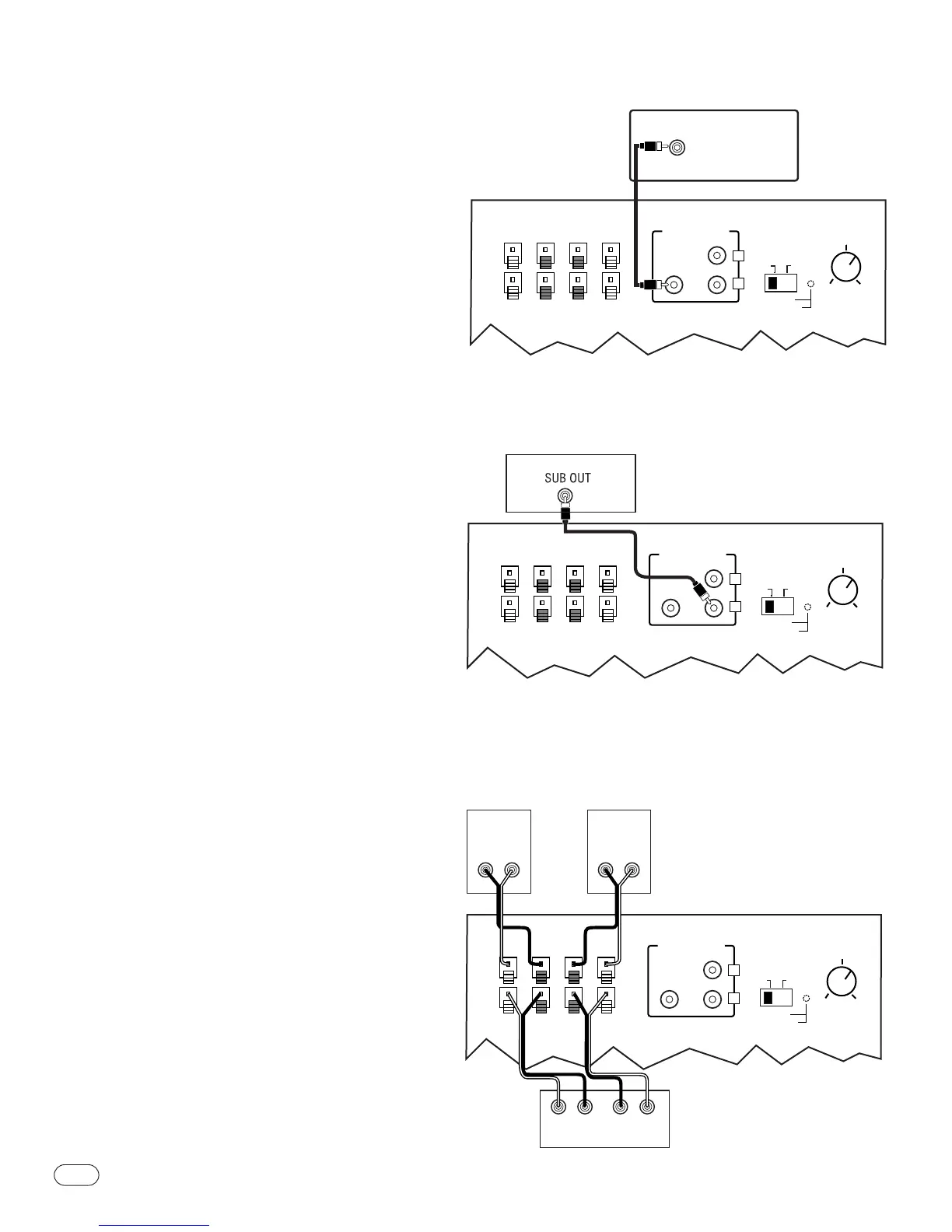
SUBWOOFER CONNECTIONS
If your receiver/processor does not contain
a Dolby Digital or DTS processor but has a
subwoofer output:
If your receiver/processor does not have
subwoofer outputs for the left and right
channels or an LFE output:
If you have a Dolby* Digital or DTS
®
receiver/
processor with a low-frequency-effects (LFE)
or subwoofer output:
HIGH LEVEL
+ – – +
SUBWOOFER
LEVEL
OUT
IN
L R
LINE LEVEL IN
LFE
L
R
AUTO ON
MIN MAX
GREEN: ON
RED: STANDBY
SUBWOOFER OR
LFE OUTPUT
Set line-level/LFE switch to “LFE.
HIGH LEVEL
+ – – +
SUBWOOFER
LEVEL
OUT
IN
L R
LINE LEVEL IN
LFE
L
R
AUTO ON
MIN MAX
GREEN: ON
RED: STANDBY
RECEIVER/PROCESSOR
HIGH LEVEL
+ – – +
SUBWOOFER
LEVEL
OUT
IN
L R
LINE LEVEL IN
LFE
L
R
AUTO ON
MIN MAX
GREEN: ON
RED: STANDBY
RECEIVER/AMPLIFIER
Front Speaker Output
LEFT RIGHT
+ – +
LEFT SPEAKER
– +
RIGHT SPEAKER
– +
15' subwoofer
cable included
15' subwoofer
cable included
Set line-level/LFE switch to “Normal.
NOTE:If your receiver/processor has only one sub out,
you may use either the L or R input.
INFP1408TSS-450 OM 8/11/03 4:38 PM Page 8

Other manuals for Infinity Total Solutions TSS-450

Related product manuals