EasyManua.ls Logo

Intec FORCE/2 - Page 39

Intec FORCE/2
60 pages
Print Icon
To Next Page IconTo Next Page
To Next Page IconTo Next Page
To Previous Page IconTo Previous Page
To Previous Page IconTo Previous Page
Loading...
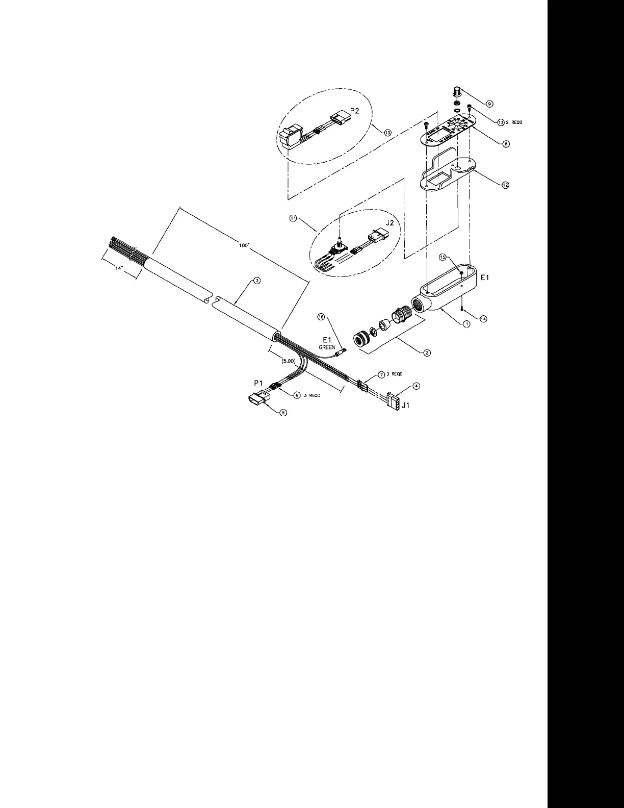
ELECTRICAL DRAWINGS
37
Item # PART NUMBER DESCRIPTION
1 ........21008-0 ........REMOTE BOX 3/4 W/HOLE
2 ........21008-09 ......STRAIN RELIEF, ALUMINUM, 3/4"
3 ........21008-10 ......REMOTE CORD 18/7 X 100' (ONLY)
4 ........21008-12 ......REMOTE BOX CONNECTOR SOCKET MALE
5 ........21008-13 ......REMOTE BOX CONNECTOR SOCKET FEMALE
6 ........21008-14 ......REMOTE BOX CONTACT PIN MALE
7
........21008-15 ......REMOTE BOX CONTACT PIN FEMALE
8 ........21008-17 ......REMOTE BOX 3/4" SHIELD STICKER
9 ........21143-01........VARIABLE SPEED KNOB
10........21021-S ........REMOTE BOX ROCKER SWITCH ASSM.
1
1
........21143-03-S ....VSC POT. ASSM.
1
2
........
RR2
1008-08 ..REMOTE BOX 3/4" SHIELD W/O STICKER
1
3
........
F1
1
9
..............
8*32 X 3/8 PP ZN
1
4........F122..............6*32 X 3/8 PP BLACK
15........F124..............6*32 NYLON INSERT LOCK NUT
16........F153..............#6 RING TERMINAL BLUE
Electrical without GFCI Mfg
from 7/89 - 9/02

Other manuals for Intec FORCE/2