EasyManua.ls Logo

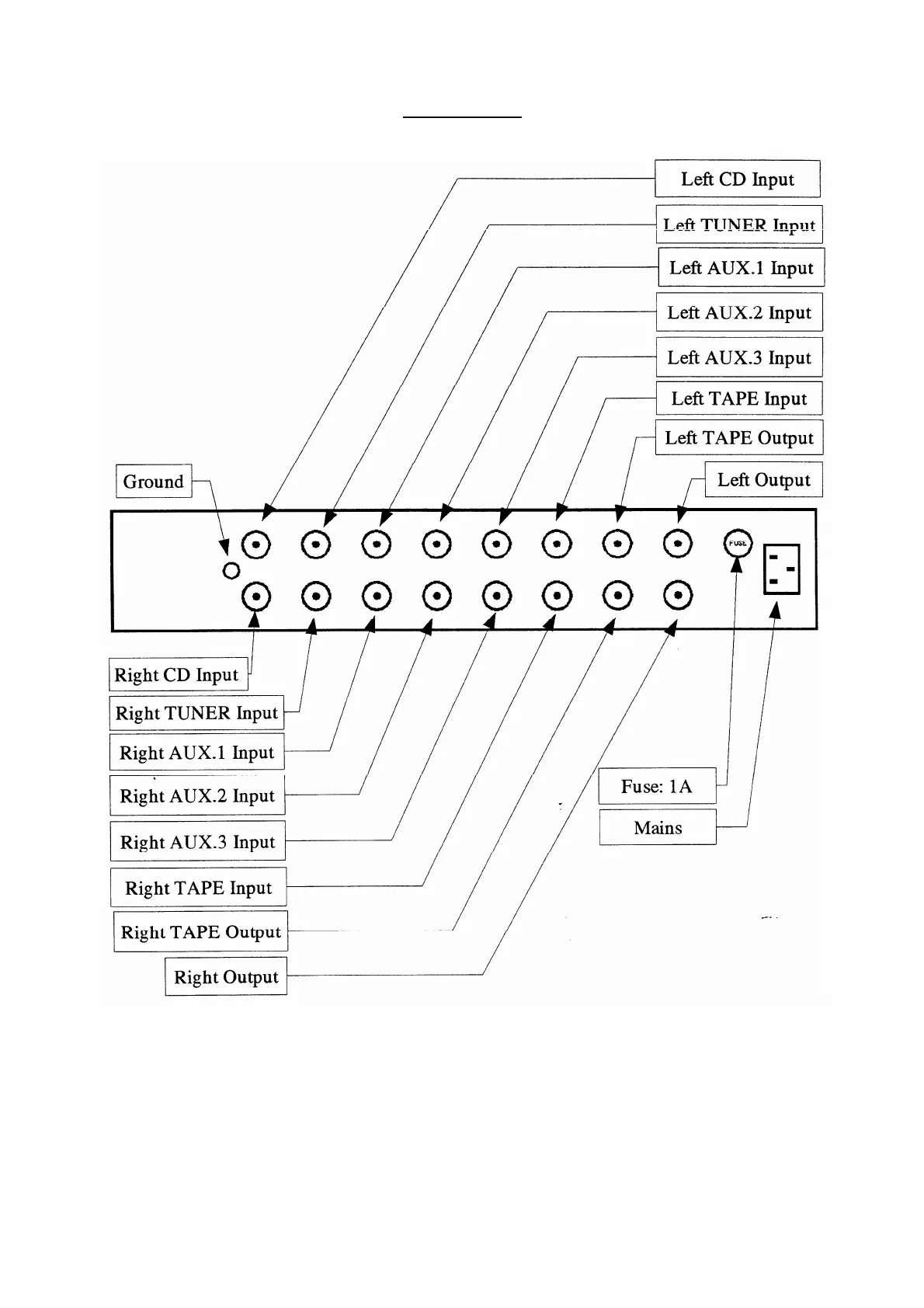
Jadis JPL - Rear Panel Connectivity

Jadis JPL
12 pages
Print Icon
To Next Page IconTo Next Page
To Next Page IconTo Next Page
To Previous Page IconTo Previous Page
To Previous Page IconTo Previous Page
Loading...
Back view

Related product manuals