EasyManua.ls Logo

jcb 217 - Control Valves Representation

jcb 217
890 pages
Print Icon
To Next Page IconTo Next Page
To Next Page IconTo Next Page
To Previous Page IconTo Previous Page
To Previous Page IconTo Previous Page
Loading...
3 - 14
Introduction to Hydraulic Schematic
Symbols (cont'd)
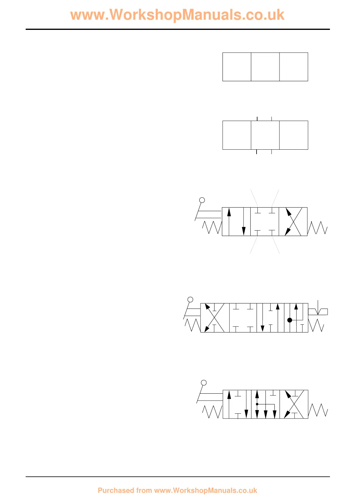
Control Valves
Control valves are usually represented by one or more
square boxes.
Fig. 1 shows a control valve represented by three boxes.
The number of boxes indicates the number of possible valve
operating positions, (4 boxes - 4 positions etc).
Fig. 2 - In circuit diagrams the pipework is usually shown
connected to the box which represents the unoperated
condition. (Hydraulic circuit diagrams are usually shown in
the unoperated condition).
Fig. 3 shows a valve described as a 3- position, 4-port
control valve. Port describes the openings to and from the
valve by which the hydraulic fluid enters or leaves. In the fig
shown, Position 2 indicates that in an unoperated condition
all 4 ports are blocked.
If the valve spool was moved to Position 1, movement of the
spool would connect Port 1 to Port 2, and Port 3 to Port 4.
If the valve spool was moved to Position 3, movement of the
spool would connect Port 1 to Port 4, and Port 3 to Port 2.
It must be noted that not all spools are of the same type.
Their operating designs can be seen by following the path
the flow arrows take in their respective operating squares.
Three typical JCB style spools are known as 'D' spools, 'F'
spools and 'N' spools.
The 'D' spools generally control rams because when in the
neutral position the outlet ports are blocked, preventing ram
movement. Fig 3 shows a 'D' type spool.
Fig 4 - 'F' spools are often shown as four position spools
with the three normal positions for neutral and service
control; and the forth position, which has a detent, connects
both sides of the ram together to allow the service to 'float'.
Fig 5 - 'N' spools are sometimes used to control hydraulic
motors, and it can be seen from the flow arrows, that in
neutral position both service ports are connected to the
exhaust oil port
Section E Hydraulics
9803/3280
Section E
3 - 14
Issue 1
Basic System Operation
A189760
Position 1 Position 2 Position 3
FIG 2
FIG 3
FIG 4
FIG 5
Port 1
Port 4
Port 3
Port 2
www.WorkshopManuals.co.uk
Purchased from www.WorkshopManuals.co.uk

Table of Contents

Related product manuals