EasyManua.ls Logo

jcb G45 - Page 168

jcb G45
177 pages
Print Icon
To Next Page IconTo Next Page
To Next Page IconTo Next Page
To Previous Page IconTo Previous Page
To Previous Page IconTo Previous Page
Loading...
Technical Data
Electrical System
161 9831/0650-3 161
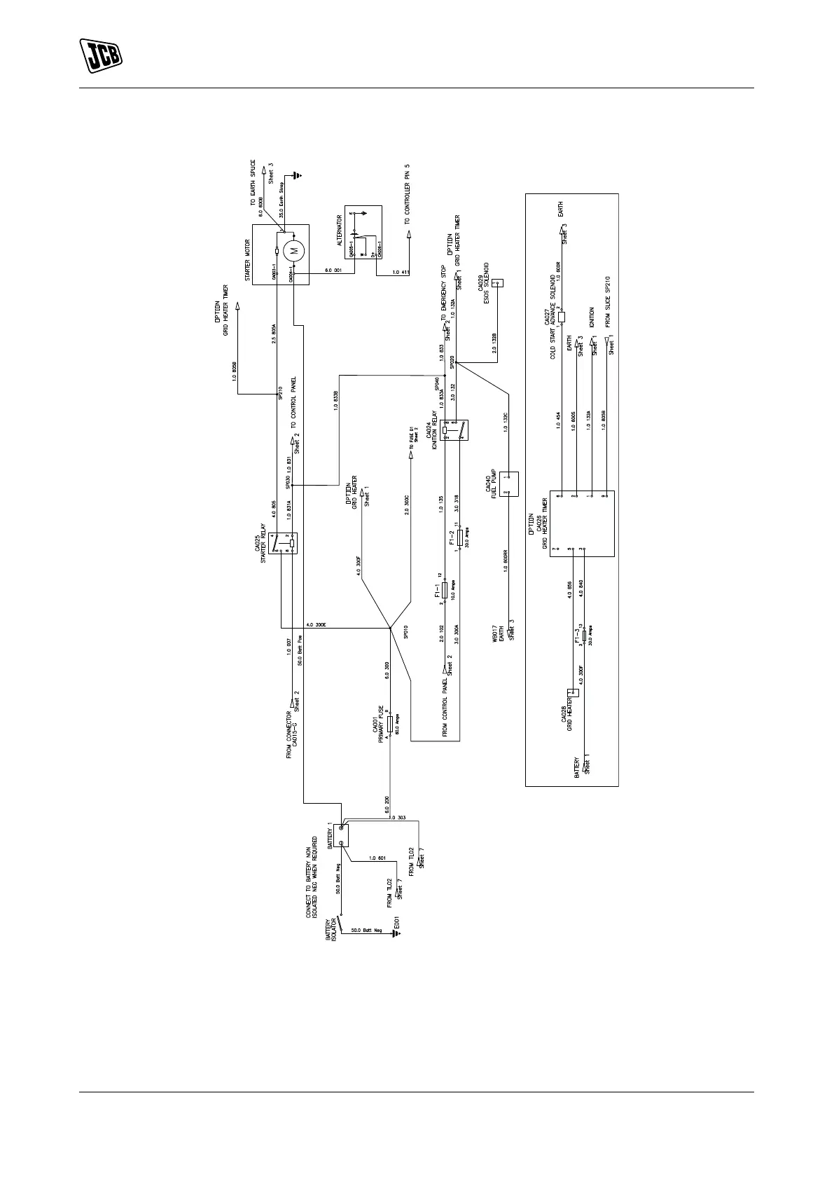
Figure 111. 336/E5832-1 (sheet 1 of 7)

Table of Contents

Related product manuals