EasyManua.ls Logo

jcb JS200 - Page 154

jcb JS200
531 pages
Print Icon
To Next Page IconTo Next Page
To Next Page IconTo Next Page
To Previous Page IconTo Previous Page
To Previous Page IconTo Previous Page
Loading...
5 - 20
Section C
Electrics
9803/6400
Section C
5 - 20
Issue 1
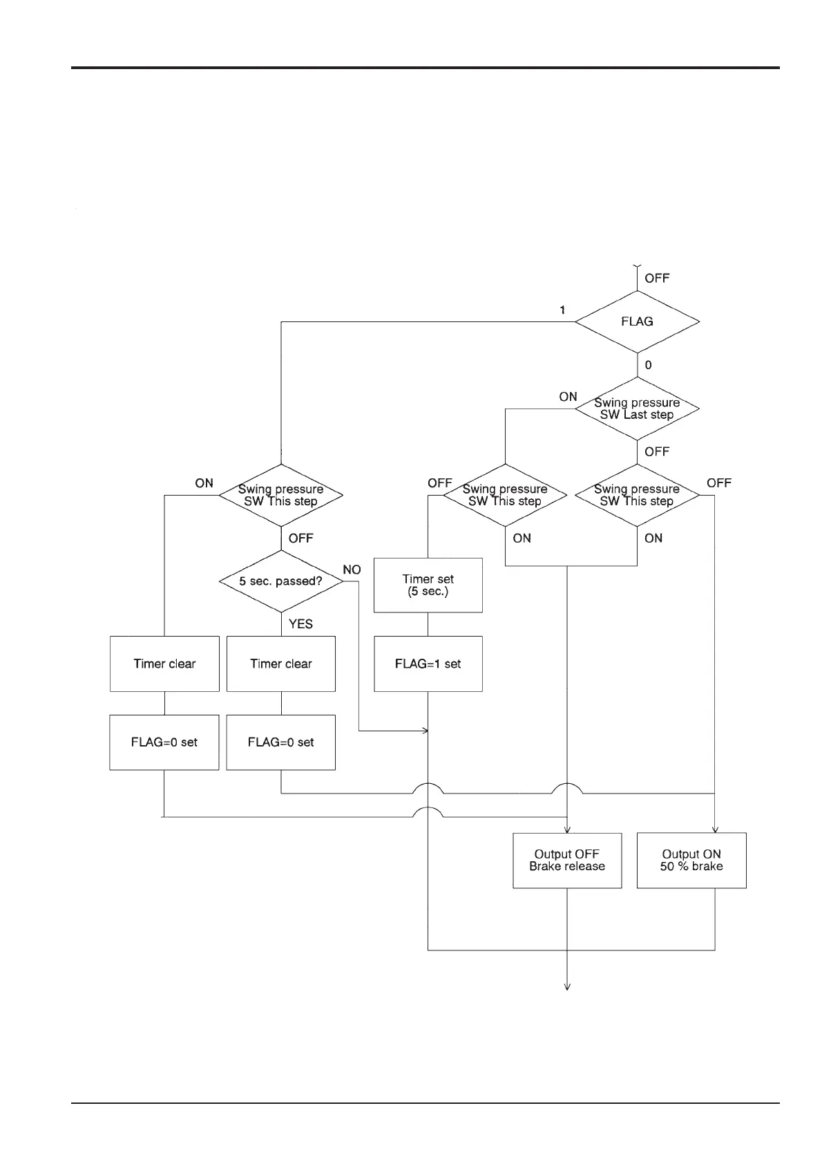
Pump Control
Swing brake/Swing lock (continued)
Flow Chart

Table of Contents

Other manuals for jcb JS200

Related product manuals