EasyManua.ls Logo

Jet VBS-1610 - 19 Electrical Diagram (VBS-1610)

Jet VBS-1610
28 pages
Print Icon
To Previous Page IconTo Previous Page
To Previous Page IconTo Previous Page
Loading...
28
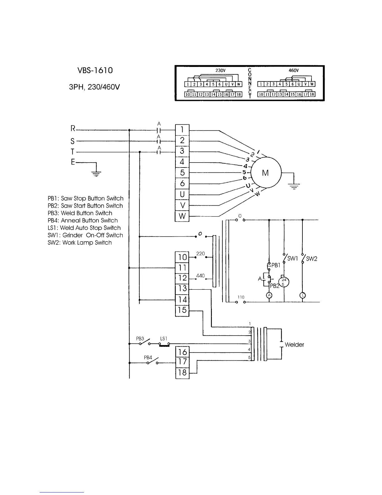
19.0 Electrical diagram (VBS-1610)

Related product manuals