EasyManua.ls Logo

JML DriBUDDI - Your DriBuddi

JML DriBUDDI
8 pages
Print Icon
To Next Page IconTo Next Page
To Next Page IconTo Next Page
To Previous Page IconTo Previous Page
To Previous Page IconTo Previous Page
Loading...
4
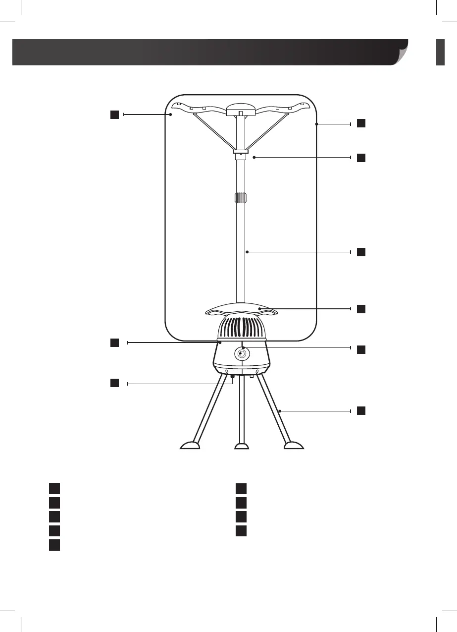
A
B
C
D
F
E
G
H
I
Clothing Rack
Motor Unit
Vent
Cover
Clothes Hanger
Lower Tube
Waterproof Plate
Timer Dial
Dryer Legs x 3
A
B
C
D
G
F
I
E
H
Your DriBuddi