EasyManua.ls Logo

JP Selecta UV 2005 - Page 13

JP Selecta UV 2005
Print Icon
To Next Page IconTo Next Page
To Next Page IconTo Next Page
To Previous Page IconTo Previous Page
To Previous Page IconTo Previous Page
Loading...
INSTRUCTION MANUAL CODE 80243 REV A January/11 (It can be modied without notice) Page: 13
J.P. SELECTA s.a. Ctra. NII Km 585.1 Abrera 08630 (Barcelona) España Tel 34 93 770 08 77 Fax 34 93 770 23 62
e-mail: selecta@jpselecta.es - website: http://www.jpselecta.es
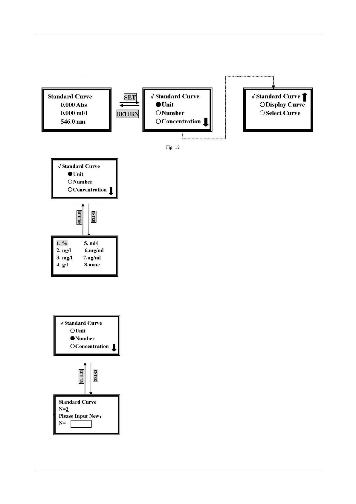
Pulse [SET] en la pantalla de pre-test para ir a la pantalla de parámetros (Fig.12).
Antes de realizar el test deberá establecer las Unidades, el Número de muestras
estándar y la Concentración de estas.
Selección del Tipo de Unidad de las Muestras Estándar
Mueva el cursor hasta Unit pulsando [»] y [«], y después pulse [ENTER]. Apare-
cerán 8 unidades bajo esta selección (Fig. 13).
Mueva el cursor hasta el tipo de unidad que desee y pulse [ENTER]. También se
puede seleccionar introduciendo directamente el número de la unidad mediante el
teclado numérico.
Si no desea seleccionar ninguna opción, pulse [RETURN] para volver a la pantalla
anterior.
Establecer la Cantidad de Muestras Estándar
Mueva el cursor hasta Number pulsando [»] y [«] y después pulse [ENTER].
(Fig. 14)
Introduzca el número de muestras estándar mediante el teclado numérico. Después,
pulse [ENTER] y volverá a la pantalla de ajuste.
Nota:
El rango de los Números va de 1 - 9, cualquier otra cifra es inválida.
Figura 13
Figura 14

Related product manuals