EasyManua.ls Logo

JP Selecta UV 2005 - Utilidades; Configurar la Lámpara de Deuterio

JP Selecta UV 2005
Print Icon
To Next Page IconTo Next Page
To Next Page IconTo Next Page
To Previous Page IconTo Previous Page
To Previous Page IconTo Previous Page
Loading...
MANUAL DE INSTRUCCIONES CODIGO 80243 REV A Enero /11 (Sujetas a modicaciones sin previo aviso) Pag.: 22
J.P. SELECTA s.a. Ctra. NII Km 585.1 Abrera 08630 (Barcelona) España Tel 34 93 770 08 77 Fax 34 93 770 23 62
e-mail: selecta@jpselecta.es - website: http://www.jpselecta.es
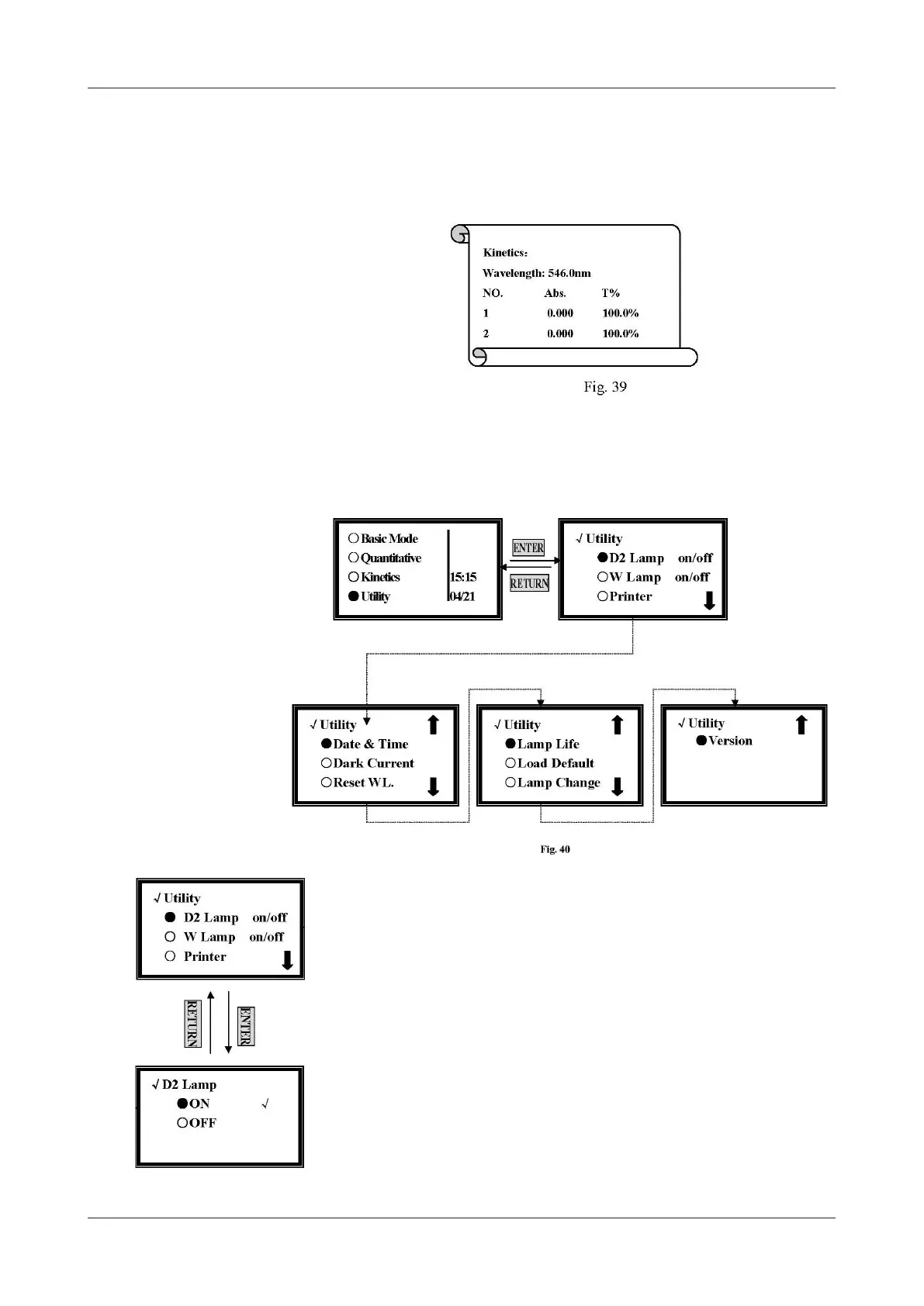
7 Utilidades
Desde el menú Utilidades, se pueden buscar y programar diferentes parámetros.
Primero, mueva el cursor hasta Utility (Utilidades) pulsando [»] y [«] en el menú
principal y después pulse [ENTER]. Podrá congurar diez items (Fig. 40).
7.1 Congurar la Lámpara de Deuterio
Mueva el cursor hasta D2 Lamp on/off pulsando [»] y [«] en la pantalla de con-
guración de las Utilidades, y después pulse [ENTER] para volver a la pantalla de
control de la D2. (Fig.41)
Mueva el cursor hasta OFF para apagar la lámpara D2 pulsando [»] y [«], y después
pulse [ENTER]. Pulse [RETURN] para salir.
Mueva el cursor hasta On para encender la lámpara D2 pulsando [»] y [«], y pulse
[ENTER]. Pulse [RETURN] para salir.
Impresión de Datos
Pulse [PRINT] en el display inferior de la Fig.38, y se imprimirán los datos.
Después de imprimir, todos los datos se borrarán de la pantalla y de la RAM.
También se pueden borrar los datos si selecciona [CLEAR]. (Fig. 39)
Figura 41

Related product manuals