EasyManua.ls Logo

JP Selecta UV 2005 - Modo Cuantitativo

JP Selecta UV 2005
Print Icon
To Next Page IconTo Next Page
To Next Page IconTo Next Page
To Previous Page IconTo Previous Page
To Previous Page IconTo Previous Page
Loading...
MANUAL DE INSTRUCCIONES CODIGO 80243 REV A Enero /11 (Sujetas a modicaciones sin previo aviso) Pag.: 12
J.P. SELECTA s.a. Ctra. NII Km 585.1 Abrera 08630 (Barcelona) España Tel 34 93 770 08 77 Fax 34 93 770 23 62
e-mail: selecta@jpselecta.es - website: http://www.jpselecta.es
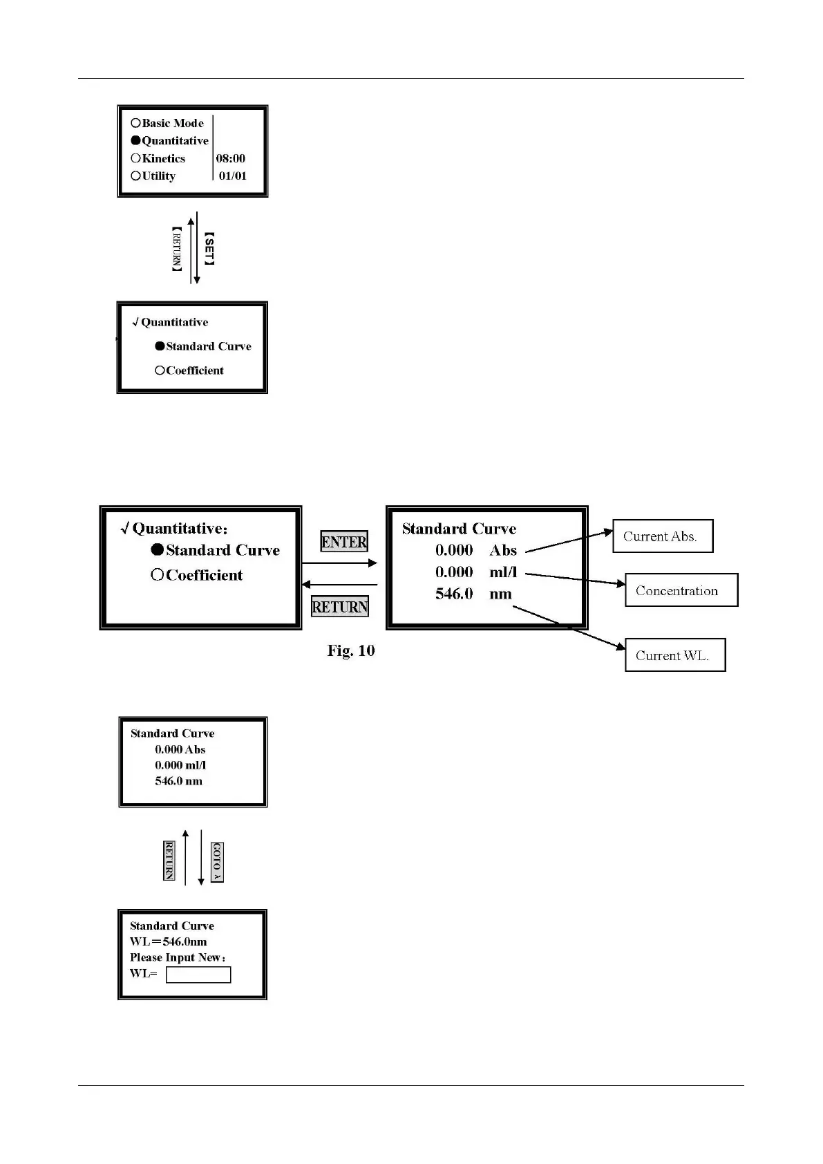
6.2 Modo Cuantitativo
Incluye dos métodos de test: Curva Estándar y Factor.
En el primer método, se puede establecer una curva estándar utilizando muestras
estándar de una concentración conocida.
Si conoce la ecuación de una curva, seleccione mejor el segundo método.
Introducción del Modo Cuantitativo
Mueva el cursor hasta el Modo Cuantitativo, y pulse [ENTER] para ir a la pantalla
del método escogido (Fig. 9).
2-1. Método Curva Estándar
Es un método para establecer una curva estándar calculando un grupo de muestras
estándar.
Mueva el cursor hasta Standard Curve (Curva Estándar) y pulse [ENTER] para
ir a la pantalla de pre-test (Fig.10).
Establecer Longitud de Onda
Pulse [GOTO] en la pantalla de pre-test, e introduzca la longitud de onda de la prueba
pulsando el teclado numérico (Fig.11).
Blanco
Coloque la muestra de blanco en la luz y pulsar [ZERO].
Establecer Parámetros
Figura 9
Figura 11

Related product manuals