EasyManua.ls Logo

JP Selecta UV 2005 - Page 15

JP Selecta UV 2005
Print Icon
To Next Page IconTo Next Page
To Next Page IconTo Next Page
To Previous Page IconTo Previous Page
To Previous Page IconTo Previous Page
Loading...
INSTRUCTION MANUAL CODE 80243 REV A January/11 (It can be modied without notice) Page: 15
J.P. SELECTA s.a. Ctra. NII Km 585.1 Abrera 08630 (Barcelona) España Tel 34 93 770 08 77 Fax 34 93 770 23 62
e-mail: selecta@jpselecta.es - website: http://www.jpselecta.es
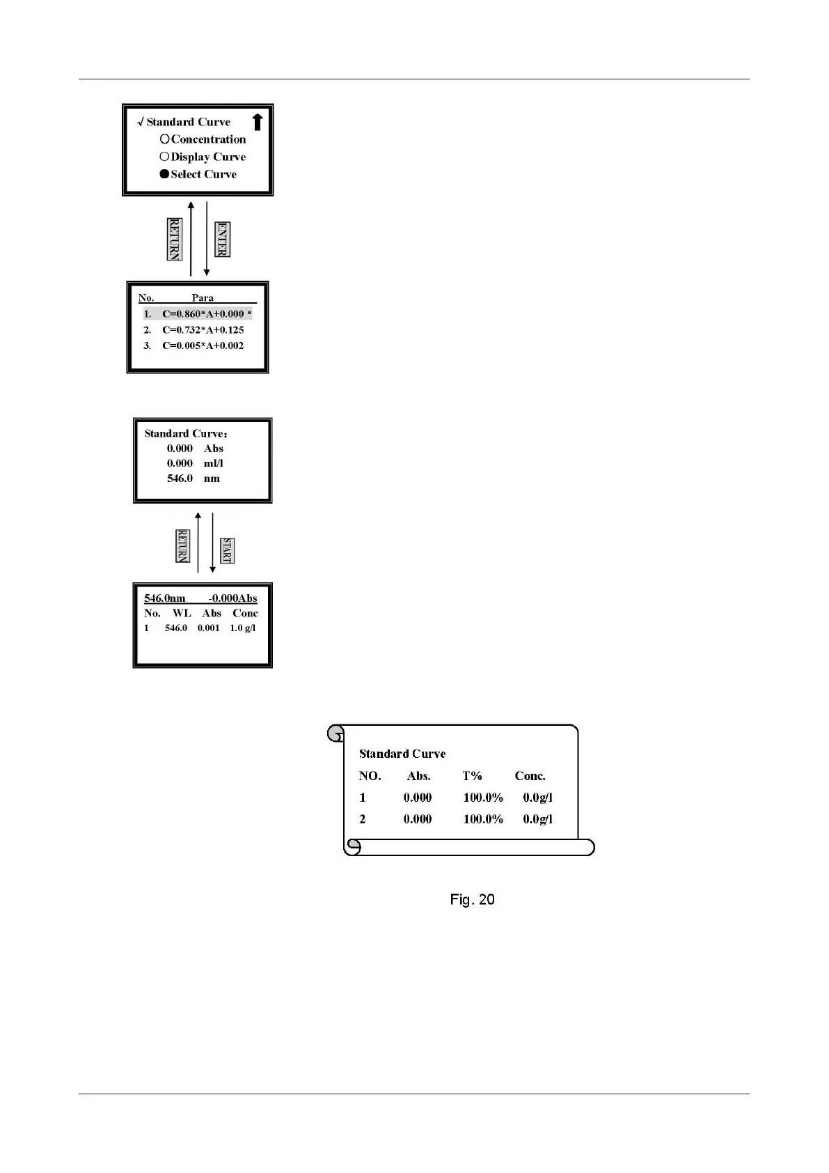
La nueva ecuación de curva establecida se mostrará al nal del grupo. Se pueden
guardar hasta un total de 200 ecuaciones de curva.
Mueva el cursor hasta la ecuación que desee pulsando [»] y [«]. Si desea volver a
la pantalla de ajuste previa, pulse [ENTER].
Pulse [RETURN] para volver a la pantalla del pre-test.
Nota:
Si desea borrar una ecuación, mueva el cursor hasta ella y pulse [CLEAR].
Prueba e Impresión
Cuando haya seleccionado la ecuación, pulse [START/STOP] para ir a la pantalla
de pre-test. (Fig. 19)
Después de calcular el blanco, coloque la cubera de muestra desconocida en el
portacubetas, y después pulse [ENTER]. Se mostrará el resultado de la prueba en
la pantalla.
Si desea realizar pruebas de otras muestras, repita la misma operación.
Pulse [PRINT] para imprimir los resultados de la prueba. (Fig. 20)
Figura 18
Figura 19

Related product manuals