EasyManua.ls Logo

JS Automation YPV-040 - Page 35

JS Automation YPV-040
70 pages
Print Icon
To Next Page IconTo Next Page
To Next Page IconTo Next Page
To Previous Page IconTo Previous Page
To Previous Page IconTo Previous Page
Loading...
34
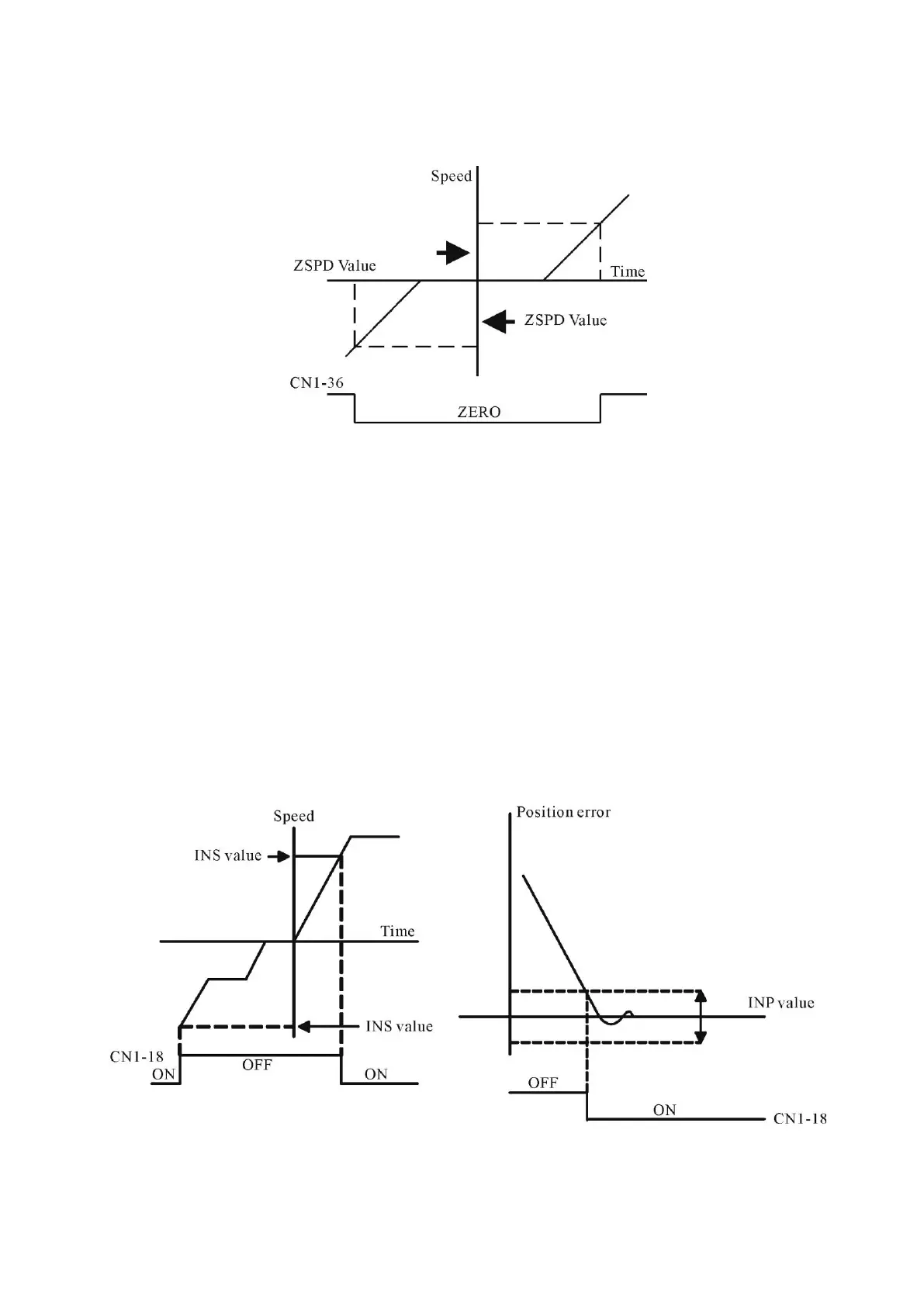
13.4 Zero servo speed zero output (CN1-36)
This signal is used to indicate that the speed of the servomotor is lower than or equal to the ZSPD
parameter set in the Speed Parameter menu and issued by connecting CN1-36 to 24G.
13.5 ITLM In torque limit output (CN1-37)
When the servo drive CN1-13 (TLM) is connected with 24G or if the output torque is saturated at the
limit set by the driver, CN1-37 will be connected with 24G to issue the In Torque Limit signal.
13.6 INS INP Speed/Position arrival output (CN1-18)
If the servo drive is set as S Mode, when the motor speed is equal to or higher than the INS parameter
set in the Speed Parameter menu, CN1-18 will be connected with 24G to issue the Speed Arrival
signal.
If the Servo drive is set as P Mode, when the value of the position error counter is equal to or lower
than the INP parameter set in the Position Parametermenu, CN1-18 will be connected with 24G to
issue the Position Arrival signal.