EasyManua.ls Logo

JTS RU-8012DB - Part Identification & Accessories

JTS RU-8012DB
49 pages
Print Icon
To Next Page IconTo Next Page
To Next Page IconTo Next Page
To Previous Page IconTo Previous Page
To Previous Page IconTo Previous Page
Loading...
06
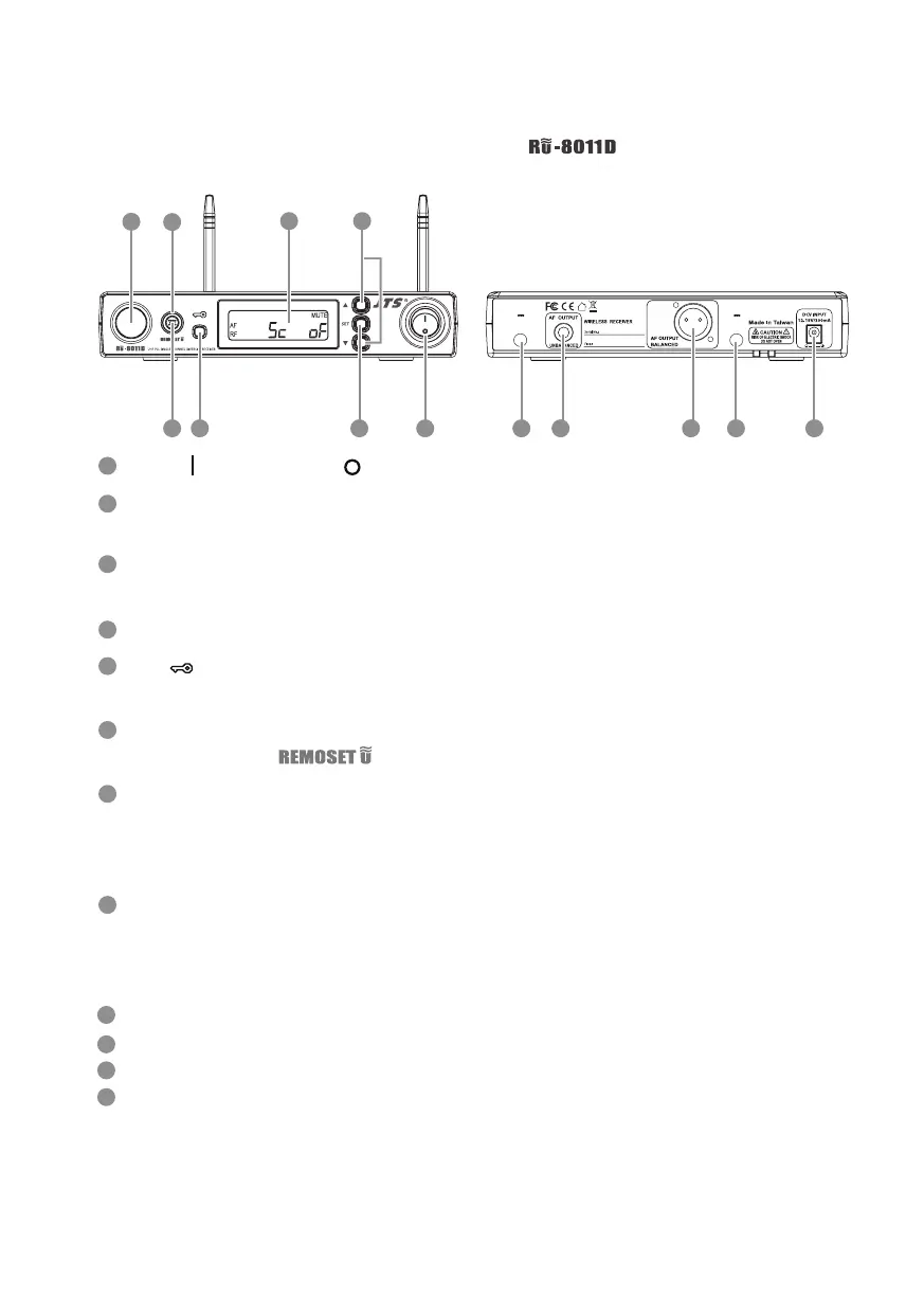
4. Part Identification & Accessories
4-1-1 UHF PLL single-channel diversity receiver //
Front panel
1
3
25
7
Rear panel
4
8
6
100mA
12V out
Antenna A
100mA
12V out
Antenna B
129
10
11 9
1
4
2
5
3
6
7
8
Receiving antenna: xed antenna of 1/4 wave length
6.3mm phone jack: unbalanced audio output jack
3P XLR male: balanced audio output jack
DC power socket: for 12~15V DC / 300mA power supply
10
12
11
9
Power: means “ON” and means “OFF”
SET: this is for function settings. Push and hold for 2 seconds to enter the
setting mode. Push “SET repeatedly to search for the function you wish to set.
/In the setting mode, push/to change the function parameter
In the non-setting mode: push/to adjust volume
LCD display
Lock :push and hold “Lock for 2 seconds to lock the buttons in order to
prevent pushing any button by accident.
Remoset u : this allows user to synchronize the transmitter after modifying a
parameter. Push “ ” to synchronize the settings to the transmitter.
Remoset indicator : this shows the current pairing status. It ashes rapidly
when data is being transmitted and the ashing stops when the synchroniza-
tion is completed. However, the ashing slows down if synchronization fails
after a period of time of pairing attempt.
Ultrasonic transmission unit: it transmits digital pairing data at ultrasonic
frequency. When setting, direct the ultrasonic receiving element of the micro-
phone to the ultrasonic transmitting unit of the receivers. The eective range
is 30º on both sides with the optimized distance at 30cm.

Related product manuals