EasyManua.ls Logo

JTS US-802D Pro - Page 12

JTS US-802D Pro
28 pages
Print Icon
To Next Page IconTo Next Page
To Next Page IconTo Next Page
To Previous Page IconTo Previous Page
To Previous Page IconTo Previous Page
Loading...
8
AF
AB
AF
AB
POWER
DUAL CHANNEL DIVERSITY RECEVER
US-822D Pro
AF RF
AF
A B
RF
A B
AB AF
RDUAL CHANNEL DIVERSITY RECEVE
US-802D Pro
AB AF
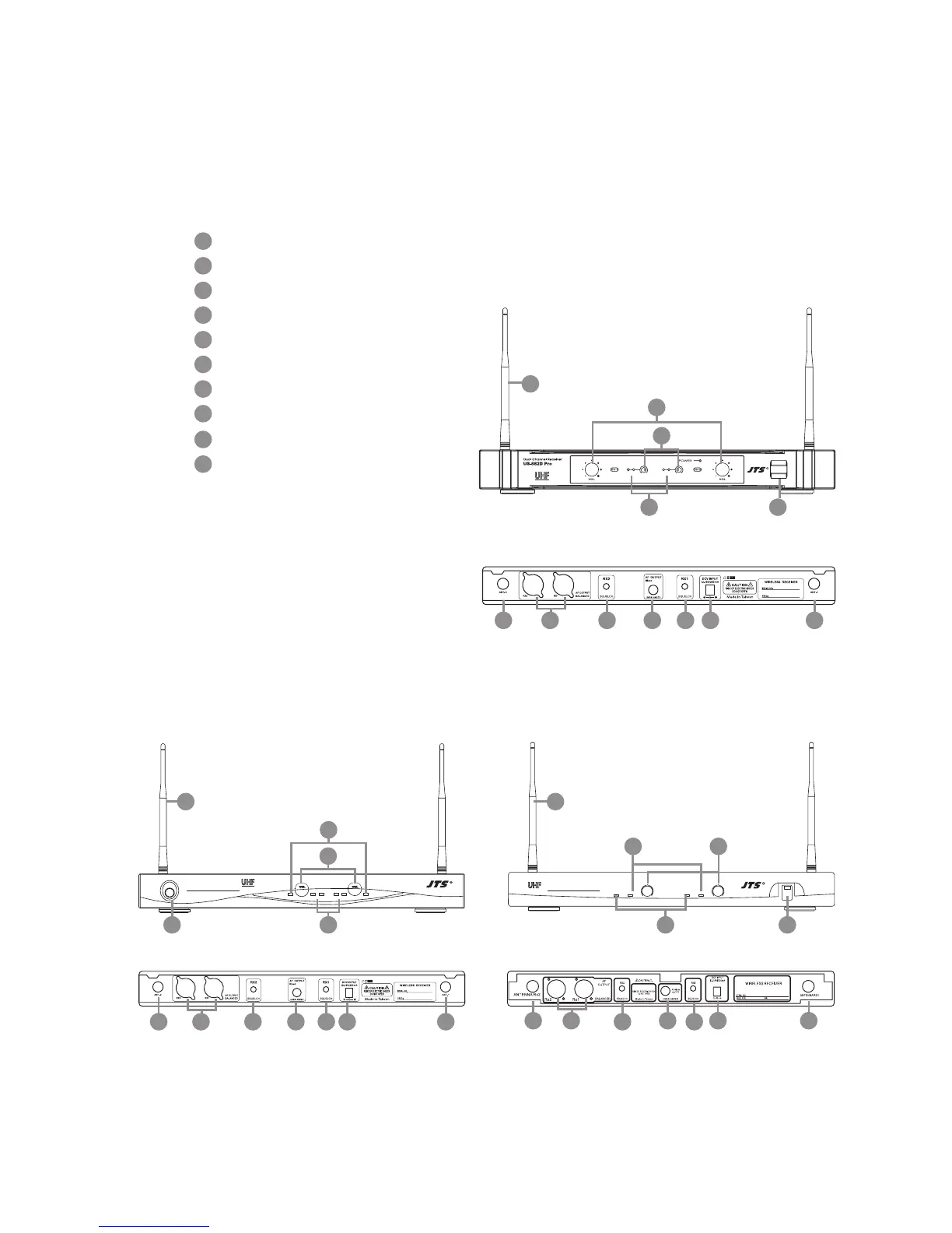
US-882D Pro / US-822D Pro / US-802D Pro
UHF Dual Channel Diversity Receiver
Power Switch
RF Indicator
AF Indicator
Volume Control
Antenna
Antenna Connector
DCV Input (12-18V DC/250mA)
Unbalanced Ø6.3mm jack socket
Balanced XLR socket
Squelch level
16
19
15
18
21
23
14
17
20
22
US-822D Pro
US-882D Pro
US-802D Pro
14
14
17
17
20
20
2019 19
16
16
19 19
22
22
22
15
15
18
18
2123 2319 19
21
2123 23 23 23
17
16
15
18
14

Related product manuals