EasyManua.ls Logo

JTS US-902D - System Operation Guidelines; Power On and Initial Setup; Channel Synchronization

JTS US-902D
30 pages
Print Icon
To Next Page IconTo Next Page
To Next Page IconTo Next Page
To Previous Page IconTo Previous Page
To Previous Page IconTo Previous Page
Loading...
24
6. System Operation
Be sure to mute the audio signal of mixer or amplier before turning on the receiver or trans-
mier.
Turn AF level on the receiver completely counter-clockwise to the minimum level, and press
the power On/O switch on the front panel of receiver. As soon as you turn power on of receiver,
the power LCD lights on, meanwhile the RF signal and AF level indicate the transmission status,
and receiver is ready for operating.
Always it’s a good idea to keep “open space” between transmier and receiver, that is able to
improve RF reception.
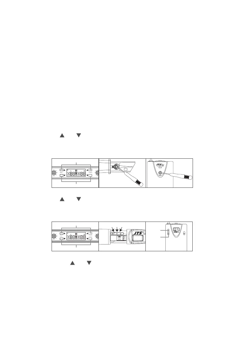
(1) Press the Up / Down buon to select the channel for the receiver. Use the supplied
screwdriver to select a desired channel for handheld transmier or body-pack transmier.
Both receiver and transmier are preprogrammed with 16 channels.
(2) Press the Up / Down buon to select the channel for the receiver, handheld treans-
mier or body-pack transmier. Both receiver and transmier are preprogrammed with 16
channels.
(3) en with the Up / Down buon to select the channel of receiver the same as the trans-
mier, please make sure the receiver channel matches that of the transmier.
(4) When 2 or more transmiers and receivers are being use in the same location, they must
be set up to use dierent channels. If existing channel is being interfered, please change to
another channel non-interference.
6-1 Power on
6-2 Match channel between receiverr and transmitter
Up
S
et Down
SET
DOWN
UP
DOWN
UP
CH
S
DOWN
UP