EasyManua.ls Logo

JTS UT-16G3 - Page 16

JTS UT-16G3
49 pages
Print Icon
To Next Page IconTo Next Page
To Next Page IconTo Next Page
To Previous Page IconTo Previous Page
To Previous Page IconTo Previous Page
Loading...
12
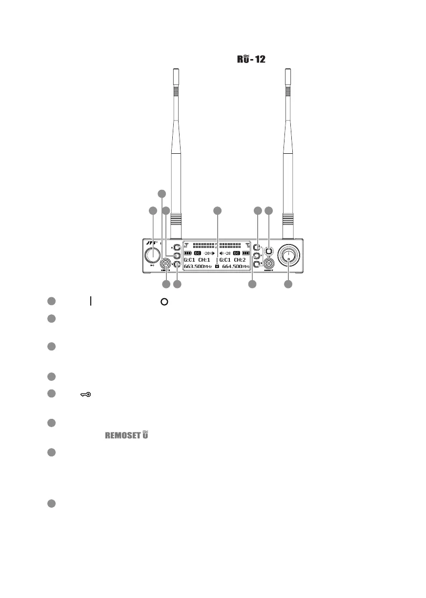
Front panel
4-1-4 UHF PLL dual-channel diversity receiver //
1
4
2
5
3
6
7
8
Power: means “ON” and means “OFF”
SET: this is for function settings. Push and hold for 2 seconds to enter the setting
mode. Push “SET repeatedly to search for the function you wish to set.
/In the setting mode, push/to change the function parameter
In the non-setting mode: push/to adjust volume
LCD display
Lock :push and hold “Lock for 2 seconds to lock the buttons in order to prevent
pushing any button by accident.
Remoset u : this allows user to synchronize the transmitter after modifying a param-
eter. Push “ ” to synchronize the settings to the transmitter.
Remoset indicator : this shows the current pairing status. It ashes rapidly when
data is being transmitted and the ashing stops when the synchronization is com-
pleted. However, the ashing slows down if synchronization fails after a period of
time of pairing attempt.
Ultrasonic transmission unit: it transmits digital pairing data at ultrasonic frequency.
When setting, direct the ultrasonic receiving element of the microphone to the ultra-
sonic transmitting unit of the receivers. The eective range is 30º on both sides with
the optimized distance at 30cm.
R -12
UHF PLL DUAL CHANNEL DIVERSIT Y RECEIVER
2
548
7
6 3
3
1
2

Related product manuals