EasyManua.ls Logo

Jumper HWA21 - Page 10

Jumper HWA21
26 pages
Print Icon
To Next Page IconTo Next Page
To Next Page IconTo Next Page
To Previous Page IconTo Previous Page
To Previous Page IconTo Previous Page
Loading...
- 9 -
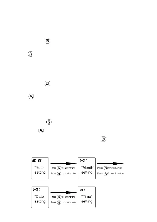
move to the Month setting mode.
After entering the Month setting mode, 1-01 will flash on the screen.
Press the Memory button, the Monthvalue can be setting. Press
the User button for “Month” value confirmation and enter the
Date setting mode.
After entering the Date setting mode, 1-01 will flash on the screen.
Press the Memory button, the Datevalue can be setting. Press
the User button for Date” value confirmation and enter the
Time setting mode.
After entering the Time setting mode, XX:XX will flash on the screen.
Press the Memory button, and the Hour value can be setting.
Press the User button for “Hour” value confirmation and enter the
Minute setting mode. Press the Memory button, and the
Minute value can be setting.

Related product manuals