EasyManua.ls Logo

JVC AV-2115EE - Page 34

JVC AV-2115EE
44 pages
Print Icon
To Next Page IconTo Next Page
To Next Page IconTo Next Page
To Previous Page IconTo Previous Page
To Previous Page IconTo Previous Page
Loading...
12
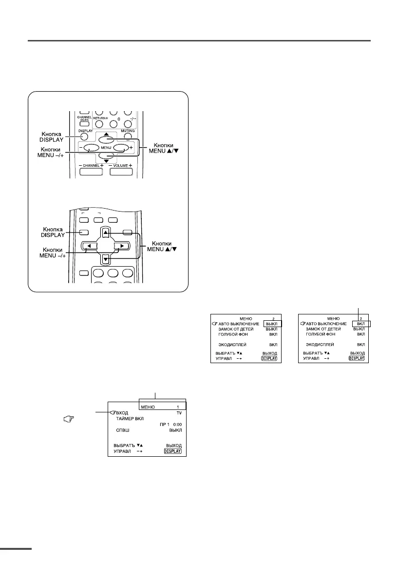
2 Дл дос лого
 слду ооо
 коку MENU T.
сл одол  коку
MENU y, ос слду 
.
сл б фук соло
 о сок,  кок
MENU r о дду 
.
3 Дл бо буо
фук слду ооо
 кок MENU T.
4 Дл  усок
фук слду 
кок MENU M.
:
Дл коо фук о
дсо дуго о
од.
5 Дл кл дсл
слду  коку
DISPLAY.
Дл ул   оо
коок  д л ло
с. “соло ”  с. 20.
соло
соло лоого 
Д ло  сколко фук, коо  о ул,
солу дл ого  . Дл олоого соло с фук
го ло  ободо о, кк соло   .
<RM-C360GY/RM-C364GY>
<RM-C90>
OFF
TIMER
SYSTEM
COLOUR SOUND
MUTING
MENU
DISPLAY
TV/VIDEO
TV/TEXT
123
Осоо оо
соло
1 Слду  кок MENU
T.
ос од  4 о .
ı„  
«„
 о
лко
ко
сл
ок
куу
фук.

усолу
фук О
КЛ.
LCT1195-001B-H_R 3/6/2002, 15:1112

Other manuals for JVC AV-2115EE

Related product manuals