EasyManua.ls Logo

JVC CA-FSB70 - Using the Timers; Using the Daily Timer and the Recording Timer

JVC CA-FSB70
70 pages
Print Icon
To Next Page IconTo Next Page
To Next Page IconTo Next Page
To Previous Page IconTo Previous Page
To Previous Page IconTo Previous Page
Loading...
25
English
Using the Timers
DAILY
UP
DOWN
CLOCK/
TIMER
On the remote control ONLY:
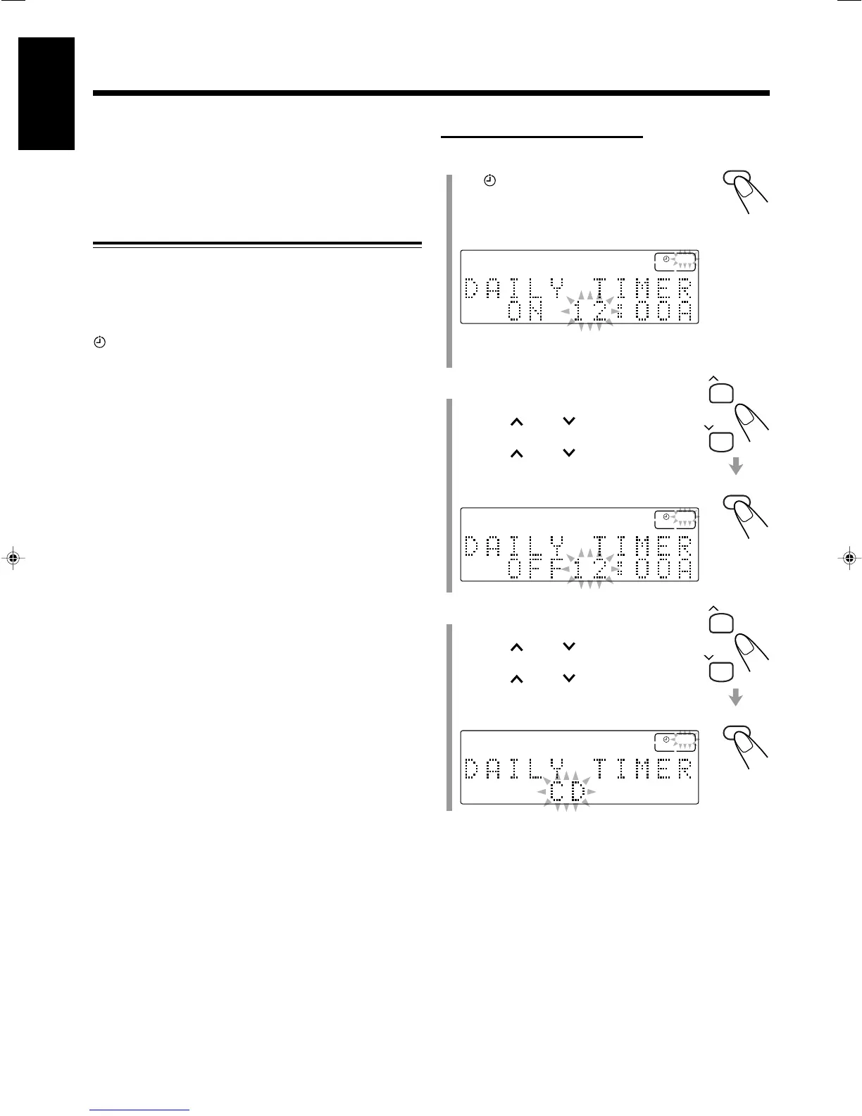
1
Press CLOCK/TIMER.
The (timer) indicator lights up and the timer
mode indicator (DAILY or REC) flashes on the
display.
The unit enters the on-time setting mode.
2
Set the on-time you want the unit
to turn on.
1) Press UP or DOWN to set the
hour, then press CLOCK/TIMER.
2) Press UP or DOWN to set the
minute, then press CLOCK/TIMER.
The unit enters the off-time setting mode.
3
Set the off-time you want the unit
to turn off.
1) Press UP or DOWN to set the
hour, then press CLOCK/TIMER.
2) Press UP or DOWN to set the
minute, then press CLOCK/TIMER.
The unit enters the source setting mode.
Three timers are available—Recording Timer, Daily Timer
and Sleep Timer.
Before using these timers, make sure the built-in clock is
set correctly (see page 9).
Using the Daily Timer and the Recording
Timer
You can set the timer when the unit is either turned on or in
standby mode.
How the timer actually works
When the on-time comes, the unit automatically turns on (the
(timer) indicator flashes just before the on-time and
continues flashing while the timer is operating). Then, when
the off-time comes, the unit automatically turns off (standby).
The timer setting remains in memory until you change it.
When the DAILY indicator is lit on the display, the timer
acts as the Daily Timer. Once the timer has been set, it will
be activated at the same time everyday until the timer is
turned off.
When the REC indicator is lit on the display, the timer acts
as the Recording Timer. After the timed-recording finishes,
the details of the setting remain stored but the timer is
turned off.
Before you start...
When using “TUNER” as the source to play, make sure to
select the desired station before turning off the power.
There is a time limit in doing the following steps. If the
setting is canceled before you finish, start again from step
1
.
CLOCK/
TIMER
DAILY
Ex.: When the Daily Timer has been selected
the last time.
UP
DOWN
CLOCK/
TIMER
DAILY
25_27FS_B70[C].p65 03.3.19, 10:51 AM25

Table of Contents

Related product manuals