EasyManua.ls Logo

JVC CA-UXG46 - Przed Rozpoczęciem Obsługi Systemu

JVC CA-UXG46
122 pages
Print Icon
To Next Page IconTo Next Page
To Next Page IconTo Next Page
To Previous Page IconTo Previous Page
To Previous Page IconTo Previous Page
Loading...
8
Polski
Przed rozpoczęciem obsługi systemu
Podczas obsługi systemu informacje podawane na wyświetlaczu są bardzo pomocne.
Przed rozpoczęciem obsługi systemu, zapoznaj się z nimi oraz z tym jak są wyświetlane.
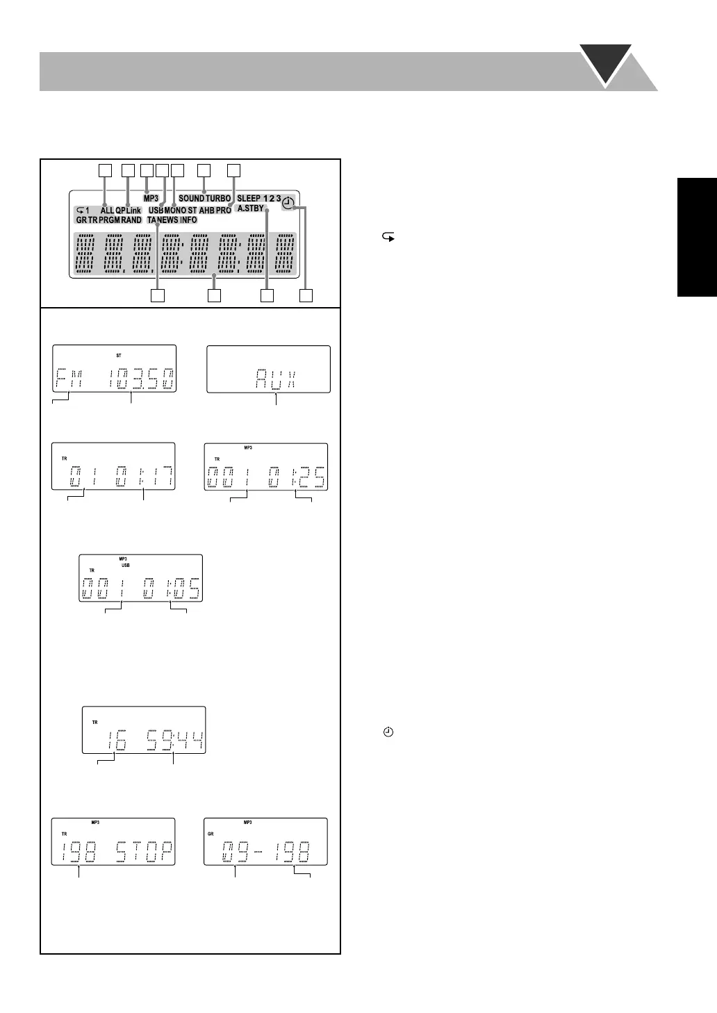
1 Wskaźniki trybu odtwarzania
RAND (odtwarzanie losowe): Zapala się, gdy włączone
jest odtwarzanie losowe.
PRGM (program): Zapala się, gdy włączone jest
odtwarzanie programowalne.
: Zapala się, gdy włączony jest tryb powtarzania.
1: Powtarzanie utworu.
ALL: Powtarzanie wszystkich utworów.
GR: Powtarzanie wszystkich utworów z wybranej
grupy (tylko MP3).
2 Wskaźnik QP Link
Zapala się, gdy funkcja QP Link jest włączona.
3 Wskaźnik MP3
Zapala się, gdy zostanie rozpoznane źródło MP3.
4 Wskaźnik USB
Zapala się, gdy wybrano USB MEMORY.
5 Wskaźniki odbioru FM
MONO: Zapala się, gdy aktywowano tryb monofoniczny
FM.
ST (stereo): Zapala się, gdy zostanie odebrana
wystarczająco silna stacja FM stereo.
6 Wskaźnik SOUND TURBO
Zapala się, gdy aktywowano SOUND TURBO (patrz
strona 14).
7 Wskaźnik AHB PRO (Active Hyper Bass Pro)
Zapala się, gdy AHB PRO jest włączony.
8 Wskaźnik TA/typ programu
(PTY)
–TA/News/Info: Zapala się, aby podać aktualnie
wybrany typ programu dla PTY.
–TA/News/Info: Miga, gdy przy pomocy PTY został
automatycznie odebrany program.
9 Główny wyświetlacz
p Wskaźnik A.STBY(Auto Standby)
Zapala się, gdy funkcja Auto Standby jest włączona.
Miga, gdy odtwarzanie płyty zostało zatrzymane przez
Auto Standby.
q Wskaźniki timera
•: Świecą się, gdy timer dzienny jest w trybie
oczekiwania; miga, gdy działa.
1/2/3: Zapala się, gdy timer dzienny (1, 2, lub 3) jest
ustawiony, miga podczas ustawiania lub działania.
SLEEP: Zapala się, gdy timer zasypiania jest włączony.
Podczas słuchania radia:
Pasmo
Częstotliwość
Podczas gdy płyta jest zatrzymana:
Całkowita ilość utworów
Całkowity czas odtwarzania
Numer
bieżącego
utworu
Upływający czas
odtwarzania
CD:
MP3:
Podczas odtwarzania płyty CD:
* Podczas uruchamiania odtwarzania płyty MP3, przed
ukazaniem się upływającego czasu odtwarzania pojawia
się numer utworu, nazwa utworu (oraz ID3 Tag).
Informacje podawane na głównym wyświetlaczu
Podczas odtwarzania MP3*:
Całkowita ilość utworów
Całkowita
ilość grup
Całkowita
ilość utworów
Gdy wybrano AUX:
W trybie “TRACK”:
W trybie “GROUP”:
12345 6 7
8
911
10
Numer utworu Upływający
czas
odtwarzania
Gdy wybrano USB MEMORY:
Upływający czas odtwarzania
Numer bieżącego utworu
Nazwa źródła
Gdy wybrany jest tryb RESUME, na wyświetlaczu
pojawia się wskaźnik RESUME. Odnosi się to również
do zatrzymania odtwarzania z pamięci masowej USB.

Table of Contents

Related product manuals