EasyManua.ls Logo

JVC EXAD KD-AVX77 - More about this Unit

JVC EXAD KD-AVX77
80 pages
Print Icon
To Next Page IconTo Next Page
To Next Page IconTo Next Page
To Previous Page IconTo Previous Page
To Previous Page IconTo Previous Page
Loading...
59REFERENCES
More about this unit
Tuner (FM only)
Storing stations in memory
When SSM is over, received stations are preset in
no. 1 (lowest frequency) to no. 6 (highest frequency).
Disc
General
In this manual, words “track” and “file” are
interchangeably used.
This unit can only play back audio CD (CD-DA) files if
different type of audio files (MP3/WMA/WAV/AAC)
are recorded on the same disc.
This unit can display only one-byte characters. No
other characters can be correctly displayed.
Inserting a disc
When a disc is inserted upside down or has no
playable files, “Cannot play this disc Check the disc”
appears on the screen. Eject the disc.
Ejecting a disc
If “No Disc“ appears after removing a disc, insert a
disc or select another playback source.
If the ejected disc is not removed within 15 seconds,
the disc is automatically inserted again into the
loading slot to protect it from dust.
Playing Recordable/Rewritable discs
This unit can recognize a total of 5 000 files and 250
folders (a maximum of 999 files per folder).
Use only “finalized” discs.
This unit can play back multi-session discs; however,
unclosed sessions will be skipped while playing.
This unit can recognize a total of 25 characters for
file/folder names.
Some discs or files may not be played back due to
their characteristics or recording conditions.
Playing DVD-VR
When selecting an item from the Playlist, the item is
automatically played back repeatedly. To change to
another item, select it from the Playlist.
For details about DVD-VR format and playlist, refer
to the instructions supplied with the recording
equipment.
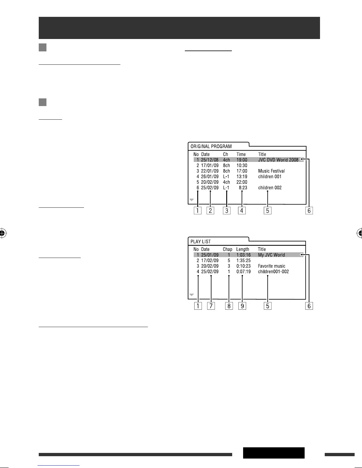
Original Program/Playlist screen
Original Program
Playlist
1 Original Program/Playlist number
2 Recording date
3 Recording source (TV station, the input terminal of
the recording equipment, etc.)
4 Start time of recording
5 Title of the program/playlist *
6 Highlight bar (current selection)
7 Creating date of playlist
8 Total number of chapters included in the playlist
9 Playback time
* The title of the original program or playlist may not be
displayed depending on the recording equipment.
EN_KDAVX7755[A]f.indb 59EN_KDAVX7755[A]f.indb 59 09.4.3 4:47:51 PM09.4.3 4:47:51 PM

Related product manuals