EasyManua.ls Logo

JVC GR-DVM828 - About DV

JVC GR-DVM828
88 pages
Print Icon
To Next Page IconTo Next Page
To Next Page IconTo Next Page
To Previous Page IconTo Previous Page
To Previous Page IconTo Previous Page
Loading...
6 EN
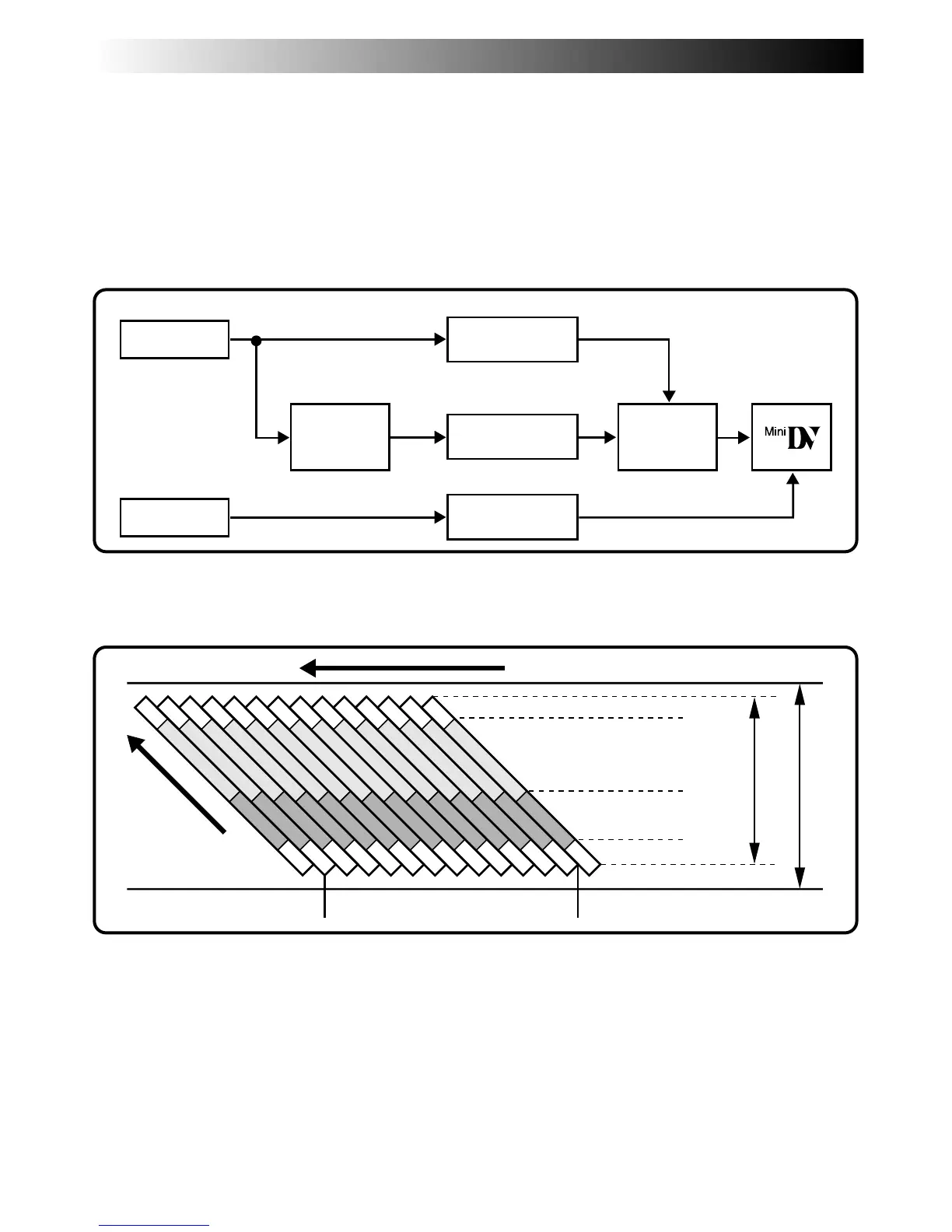
The digital video camera converts incoming audio and video signals into digital form for recording.
A video signal is composed of a luminance signal (Y) and colour signals (R-Y and B-Y). These signals are
identified and recorded digitally (Digital Component Recording). The A/D (Analogue to Digital) converter
samples the Y signal at 13.5 MHz, and R-Y and B-Y at 6.75 MHz, and changes them to an 8-bit quantum signal.
Sound sampled at 48 kHz is changed to a 16-bit quantum signal, and sound sampled at 32 kHz is converted
to a 12-bit signal.
NOTE:
The data recorded on a tape is digital, but the output of the this camcorder is analogue.
ABOUT DV
3 Audio Area
The digital audio signal is recorded here.
4 ITI (Insert and Tracking
Information) Area
Insert editing and post-recording editing
tracking signals are recorded here.
1 Sub-Code Area
The Time Code and Date/Time data are
written here, separate from the video
data. This enables you to display the date
and time during playback, even if they
weren’t displayed while recording.
2 Video Area
The digital video signal is recorded here.
Lens
Mic
A/D
conversion
Chromatic
Analysis
12 tracks/frame
VIDEO
Luminance Signal (Y)
A/D
conversion
A/D
conversion
AUDIO
Recording by
rotating head
helical scan
Tape direction
Sub-Code Area
Video Area
Audio Area
ITI Area
Head tracking
direction
5.24 mm
6.35 mm
Signal
compression
Colour Difference
Signal (R-Y/B-Y)
Chrominance (C)
This camcorder separates the data into blocks, writing one block of each data type on each track of the tape.

Related product manuals