EasyManua.ls Logo

JVC GR-DVX7EA - Copying Images Using Infrared Communication [Irtran-P]

JVC GR-DVX7EA
112 pages
Print Icon
To Next Page IconTo Next Page
To Next Page IconTo Next Page
To Previous Page IconTo Previous Page
To Previous Page IconTo Previous Page
Loading...
78 EN
P
L
A
Y
/
P
C
O
F
F
C
A
M
E
R
A
5
S
D
S
C
D
S
C
P
L
A
Y
15° 15°
< 50 cm
15° 15°
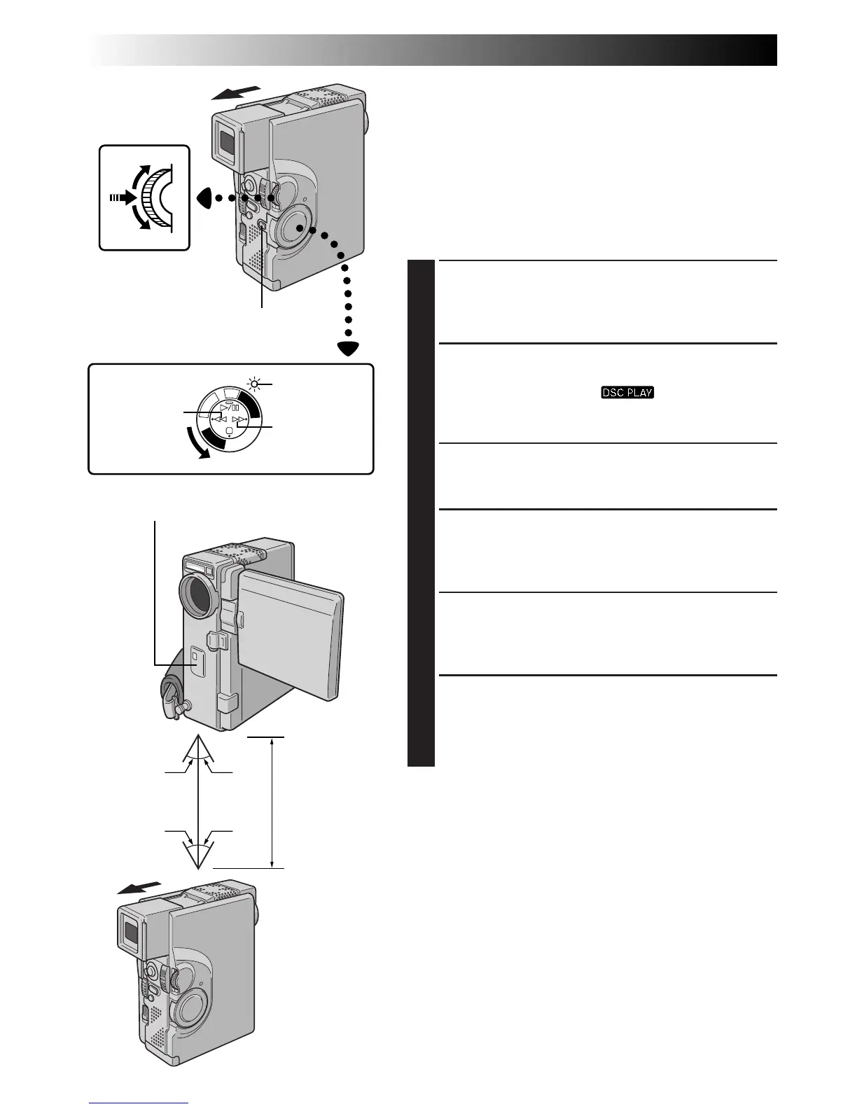
MENU/SET Dial
Lock Button
Power lamp
Copying Images Using Infrared
Communication [IrTran-P]
Images stored in a MultiMediaCard can be copied
between this camcorder and another piece of equipment
that supports IrDA (IrTran-P) infrared communication,
regardless of its manufacturer.
The following procedure is described using two
GR-DVX7 camcorders as an example. For use of other
video units, refer to their respective instructions.
1
LOAD MULTIMEDIACARDS
[For both receiving and transmitting camcorders]
Insert MultiMediaCards into both receiving and
transmitting camcorders.
2
SELECT OPERATION MODE
[For both receiving and transmitting camcorders]
Set the Power Switch to “ ” while pressing
down the Lock Button. Open the LCD monitor fully
or pull out the viewfinder fully.
3
ACCESS PLAYBACK MENU
[For both receiving and transmitting camcorders]
Press MENU/SET. The Playback Menu appears.
4
SELECT FUNCTION
[For both receiving and transmitting camcorders]
Rotate MENU/SET to move the highlight bar to
“IrTran-P” and press it. The selected parameter blinks.
5
SELECT IrTran-P MODE
[For transmitting camcorder]
Rotate MENU/SET until “TRANSMIT” appears and
press it. The normal playback screen appears.
6
SELECT IMAGE TO BE COPIED
[For transmitting camcorder]
Perform Index Playback (Z pg. 59), Auto Playback
(Z pg. 56) or press
2
or
3
to select the desired
image.
Power Switch
Rewind (
2
)
Button
Fast-Forward
(
3
) Button
DUBBING
(cont.)
Infrared transmitter/receiver

Table of Contents

Related product manuals