EasyManua.ls Logo

JVC HR-J291EA - On-Screen Display; Main Menu

JVC HR-J291EA
16 pages
Print Icon
To Next Page IconTo Next Page
To Next Page IconTo Next Page
To Previous Page IconTo Previous Page
To Previous Page IconTo Previous Page
Loading...
June 24, 2002 4:42 pm Page 4
—4—
Master Page: Right
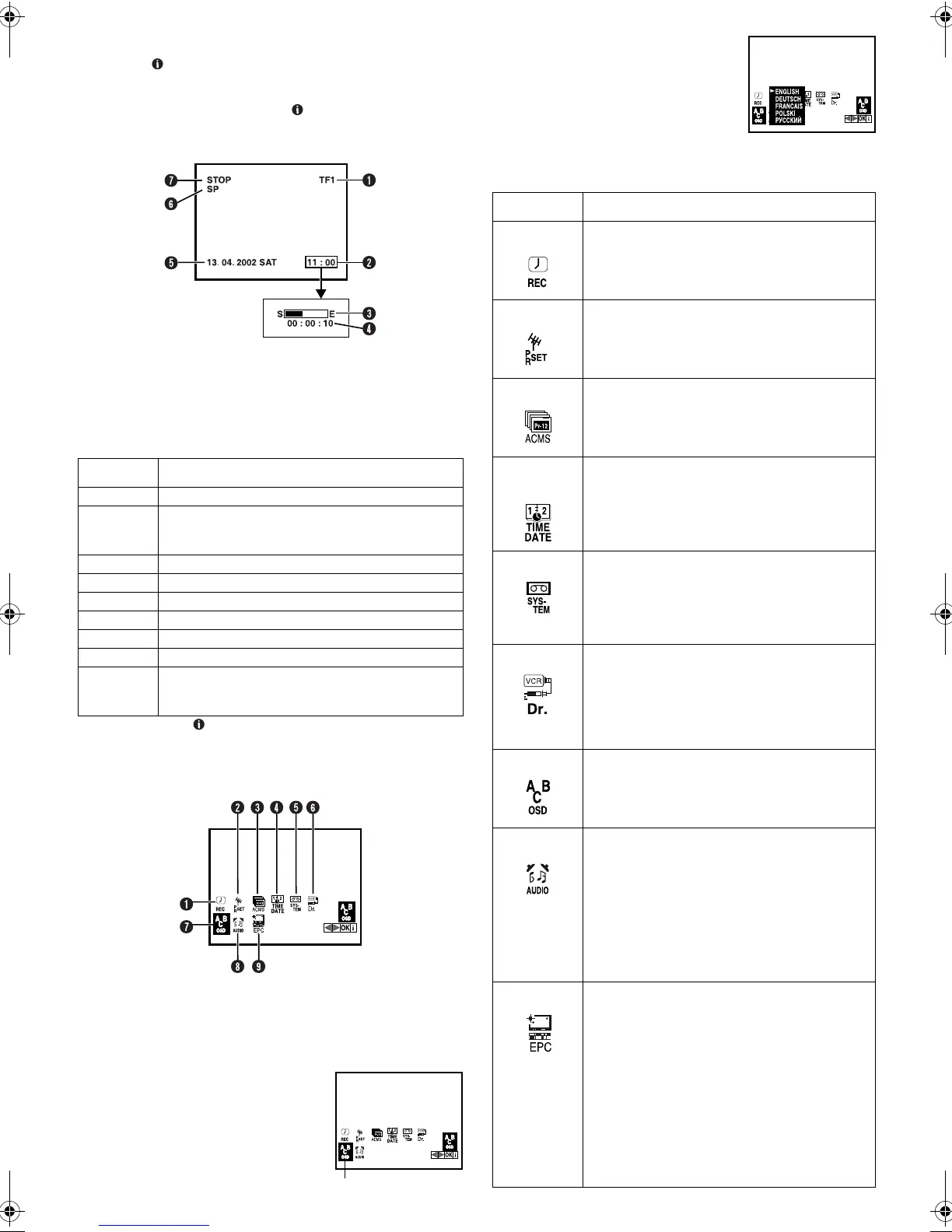
On-screen display
If you press (OK) on the remote control, you can see the
current recorder status on the screen. The indications except the
clock or time counter disappears in about 5 seconds. To clear the
on-screen display completely, press (OK) again.
The indications are not recorded even if the recorder is in the
recording mode.
A Channel and auxiliary input
B Clock*
C Tape position*
D Time counter*
E Current day/month/year
F Tape speed
G Recorder operation mode
* Each time you press (OK), the display shows clock or tape position and
time counter alternatively.
Main Menu
You can perform various operations or change various mode
settings on the Main Menu Screen.
Turn on the recorder and the TV, and set your TV to its AV mode
or video channel.
The procedure shows how to set “ABC OSD” to “ENGLISH”.
A
Access Main Menu screen
Press MENU. Press w e to select the icon
ABC OSD”, then press OK.
If you select the icon A to D, follow the
each setting procedure.
If you select the icon E to I, go to
step
2
22
2
.
B
Change setting
Press rt to set to “ENGLISH”, then press
w or e.
C
Return to normal screen
Press MENU.
*The default setting is bold in the following table.
On-screen
display
Description
PLAY appears when you playback.
REW
appears during rewinding, or blinks during
rewinding with Rewind Power Off function.
(
10)
FF appears during fast-forwarding.
EZ REPEAT appears during Ez repeat playback. (
10)
EJECT appears when you eject the cassette.
STOP appears when you stop playback or recording.
REC appears during recording.
REC PAUSE appears in the record pause mode.
SAFE
appears when the recorder enters in child lock
mode, or any buttons on the recorder are pressed
during child lock mode. (
15)
ABC OSD
Icon Description
A
REC
Select this icon to timer-record the programme.
(
12)
B
PR SET
Select this icon to perform Manual Channel Set.
(
8, 9)
C
ACMS
Select this icon to perform Auto Channel Set.
(
7) Auto Channel Set automatically assigns
all receivable stations in your area.
D
TIME
DATE
Select this icon to set clock manually. (
7)
E
SYSTEM AUTO / PAL / MESECAM / NTSC PB /
NTSC3.58 / NTSC4.43
Select the appropriate colour system when you
play back or recording a tape. For details, refer
to “Colour System Set” (
15).
F
VCR Dr.
This function allows you to check the status of
the recorder and tape inserted into the recorder,
and the detailed information of the timer
programme setting. For details, refer to
“Recorder’s Information (Self-Diagnosis)”
(
15).
G
ABC OSD
Select this icon to set the language. You can
select among 5 languages. (
6)
H
AUDIO STEREO / LEFT / RIGHT / MONO
(HR-J695EA only)
Your recorder is capable of recording four
soundtracks (STEREO, LEFT, RIGHT and
MONO) and plays back the one you select.
STEREO
: For Hi-Fi stereo tapes
LEFT
: For main audio of Bilingual tapes
RIGHT
: For sub audio of Bilingual tapes
MONO
: For audio-dubbed tapes
I
EPC OFF / SOFT / SHARP
This function helps you to adjust the playback
picture quality according to your preference.
OFF
: Picture quality is not adjusted.
SOFT
: Reduces image coarseness when viewing
overplayed tapes containing much noise.
SHARP
: Clearer, sharper-edged picture when
viewing images with much flat, same-coloured
surfaces such as cartoons.
NOTE:
You can perform EPC setting only during
playback.
HR-J291_695EA-001EN.fm Page 4 Monday, June 24, 2002 4:42 PM

Related product manuals