EasyManua.ls Logo

JVC HR-J441MS - Installing Your New Recorder; Basic Connections

JVC HR-J441MS
36 pages
Print Icon
To Next Page IconTo Next Page
To Next Page IconTo Next Page
To Previous Page IconTo Previous Page
To Previous Page IconTo Previous Page
Loading...
EN 3
Basic
Connections
CHECK CONTENTS
1
Make sure the package contains all of the accessories
listed in “Specifications” (Z pg. 36).
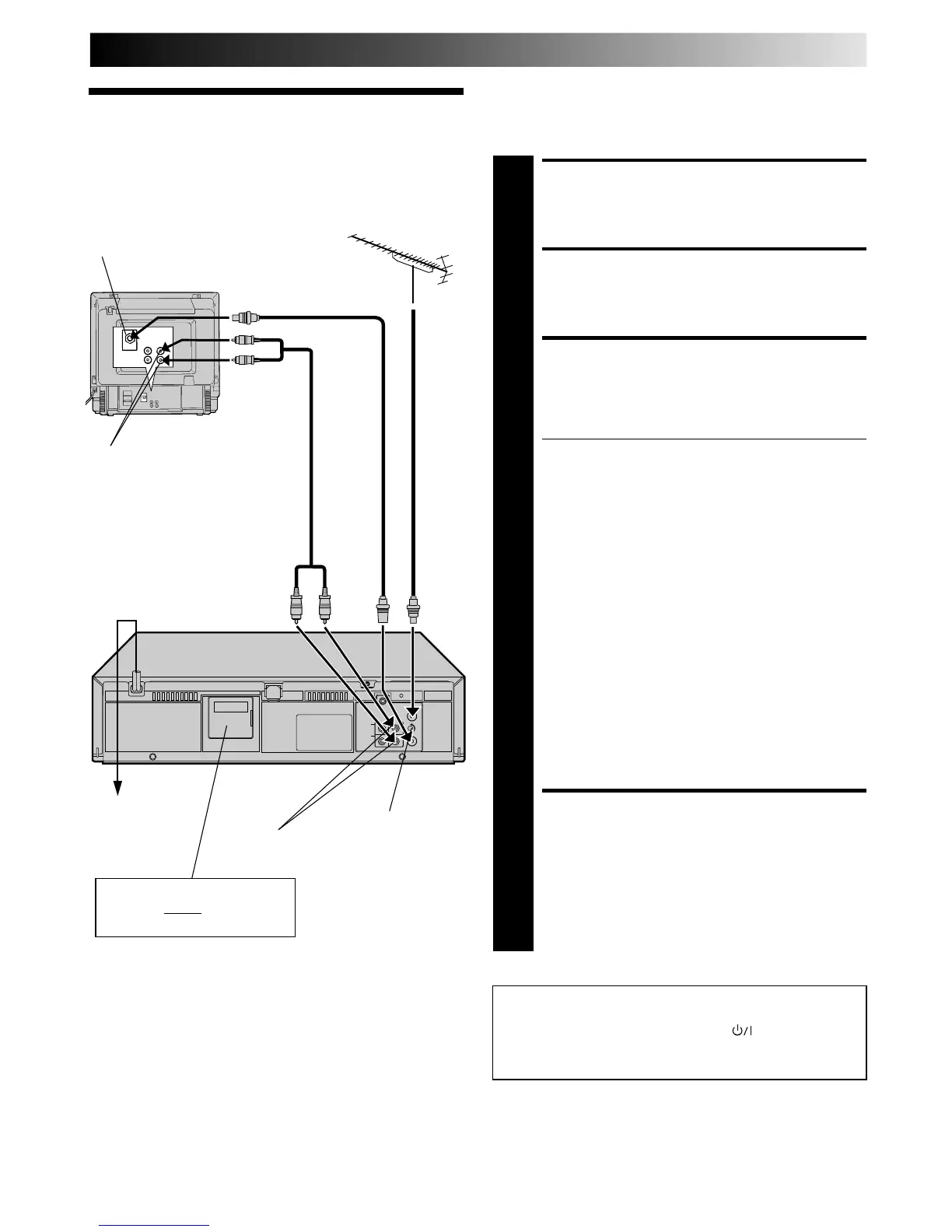
SITUATE RECORDER
2
Place the recorder on a stable, horizontal surface.
CONNECT RECORDER TO
TV
3
The connection method you use depends on the type
of TV you have.
RF CONNECTION
To Connect To A TV With NO AV Input Terminals . . .
a– Disconnect the TV aerial cable from the TV.
b– Connect the TV aerial cable to the ANT. IN jack
on the rear panel of the recorder.
c– Connect the provided RF cable between the RF
OUT jack on the rear panel of the recorder and
the TV’s aerial terminal.
Before operating the recorder, make sure the
TV’s channel is set to the VIDEO channel
(
Z pg. 5).
AV CONNECTION
To Connect To A TV With AV Input Terminals . . .
a– Connect the aerial, recorder and TV as per “RF
CONNECTION”.
b– Connect an optional AV cable between the
AUDIO OUT and VIDEO OUT connectors on the
rear panel of the recorder and the TV’s AV-IN
terminals .
Before operating the recorder, make sure the TV
is set to the VIDEO (or AV) mode.
CONNECT RECORDER TO
MAINS
4
Plug the end of the mains power cord into a mains
outlet.
NOTE:
Use the conversion plug (not provided in certain areas)
depending on the type of your AC wall outlet.
It's essential that your video recorder be properly connected.
Follow these steps carefully. THESE STEPS MUST BE COM-
PLETED BEFORE ANY VIDEO OPERATION CAN BE PER-
FORMED.
INSTALLING YOUR NEW RECORDER
Aerial terminal
AV-IN terminals
RF output channel
adjustment screw
After you plug the mains power cord into a mains outlet, the
Auto Set Up display appears on the TV screen and/or on the
recorder's front display panel when the button on the
recorder/remote control is pressed for the first time to power
on the recorder Z pg. 4.
AV Cable
(not provided)
Mains outlet
Mains Power
Cord
Rear View
AUDIO OUT/
VIDEO OUT
Connect the power plug to an
AC outlet before installing the
lithium battery. Z pg. 5
Back of TV
RF Cable
(provided)
TV
Aerial
Cable

Related product manuals