EasyManua.ls Logo

JVC KD-AVX55 - Page 179

JVC KD-AVX55
218 pages
Print Icon
To Next Page IconTo Next Page
To Next Page IconTo Next Page
To Previous Page IconTo Previous Page
To Previous Page IconTo Previous Page
Loading...
35РОБОТА
УКРАЇНА
Активація/деактивація прийому
вибраних програм/повідомлень
про стан дорожнього руху у
режимі очікування
Прийом повідомлень про стан
дорожнього руху у режимі
очікування
Індикатор
Щоб увімкнути, торкніться [QUICK
MENU], потім
.
TP
Пристрій тимчасово переключиться
у режим ТА - повідомлень про
стан дорожнього руху, які можуть
поступати з будь-якого джерела,
крім радіо AM/FM3-діапазону.
Рівень гучності зміниться на
такий, який було запрограмовано
для режиму ТА-прийому, якщо
поточний рівень буде нижчим від
запрограмованого. (
18)
Загорається
Щ не активовано. Налаштуйтесь на
іншу станцію, яка транслює Radio
Data System-сигнали.
Блимає
Щоб вимкнути, торкніться [QUICK
MENU], потім
.
Гасне
Прийом вибраних програм у
режимі очікування
Індикатор
Щоб увімкнути, торкніться [QUICK
MENU], потім
.
PTY
Пристрій тимчасово переключиться на
вашу улюблену PTY-програму, яка буде
транслюватись будь-яким джерелом,
окрім станції AM/FM3-діапазону.
Загорається
Щ не активовано. Налаштуйтесь на
іншу станцію, яка транслює Radio
Data System-сигнали.
Блимає
Щоб вимкнути, торкніться [QUICK
MENU], потім
.
Гасне
Режим прийому вибраних програм/повідомлень
про стан дорожнього руху у режимі очікування
працює також і при підключенні тюнера DAB. В
цьому разі виконується пошук послуг.
Щоб змінити PTY-код для прийому програм PTY у
режимі очікування, 25.
Відстеження однієї
програми—Прийом з
мережним відстеженням
При перетинанні місцевості, де якість FM-прийому
недостатня, система автоматично налаштовується
на іншу FM-станцію з послугою Radio Data System тієї
ж радіомережі, яка, можливо, транслює ту ж саму
програму, але з більш потужним сигналом.
Завод-виробник постачає систему вже з активованим
прийомом з мережевим відстеженням.
Щоб змінити параметри режиму прийому з
мережним відстеженням, див. <AF Regional>.
(
18)
При підключеному тюнері DAB дивіться також
пункт “Відстеження тієї ж самої програми—
Прийом на альтернативній частоті (DAB AF)”.
( 55)
Автоматичний вибір
радіостанції—Пошук
програми
Зазвичай при натисканні програмних кнопок
відбувається налаштування на запрограмовану на
них станцію.
Якщо сигнали від запрограмованої FM-станції з
Radio Data System недостатньо потужні для якісного
прийому, ця система, користуючись AF-даними,
налаштовується на іншу станцію, яка транслює
ту ж саму програму, що була запрограмована на
початку. Для активації цієї функції виберіть <On>
для <Program Search>.(
19)
Системі потрібен деякий час для налаштування
на іншу станцію за допомогою функції пошуку
програми.
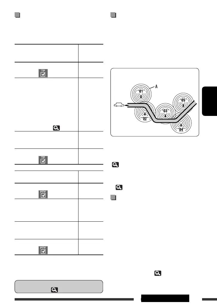
Транслювання програми А у різних місцевостях
на різних частотних діапазонах (01 – 05)
UK_KDAVX7755[EE]_2.indb 35UK_KDAVX7755[EE]_2.indb 35 09.4.2 0:00:59 PM09.4.2 0:00:59 PM

Table of Contents

Related product manuals