EasyManua.ls Logo

JVC MX-C55 - Connecting Speakers

JVC MX-C55
32 pages
Print Icon
To Next Page IconTo Next Page
To Next Page IconTo Next Page
To Previous Page IconTo Previous Page
To Previous Page IconTo Previous Page
Loading...
7
1
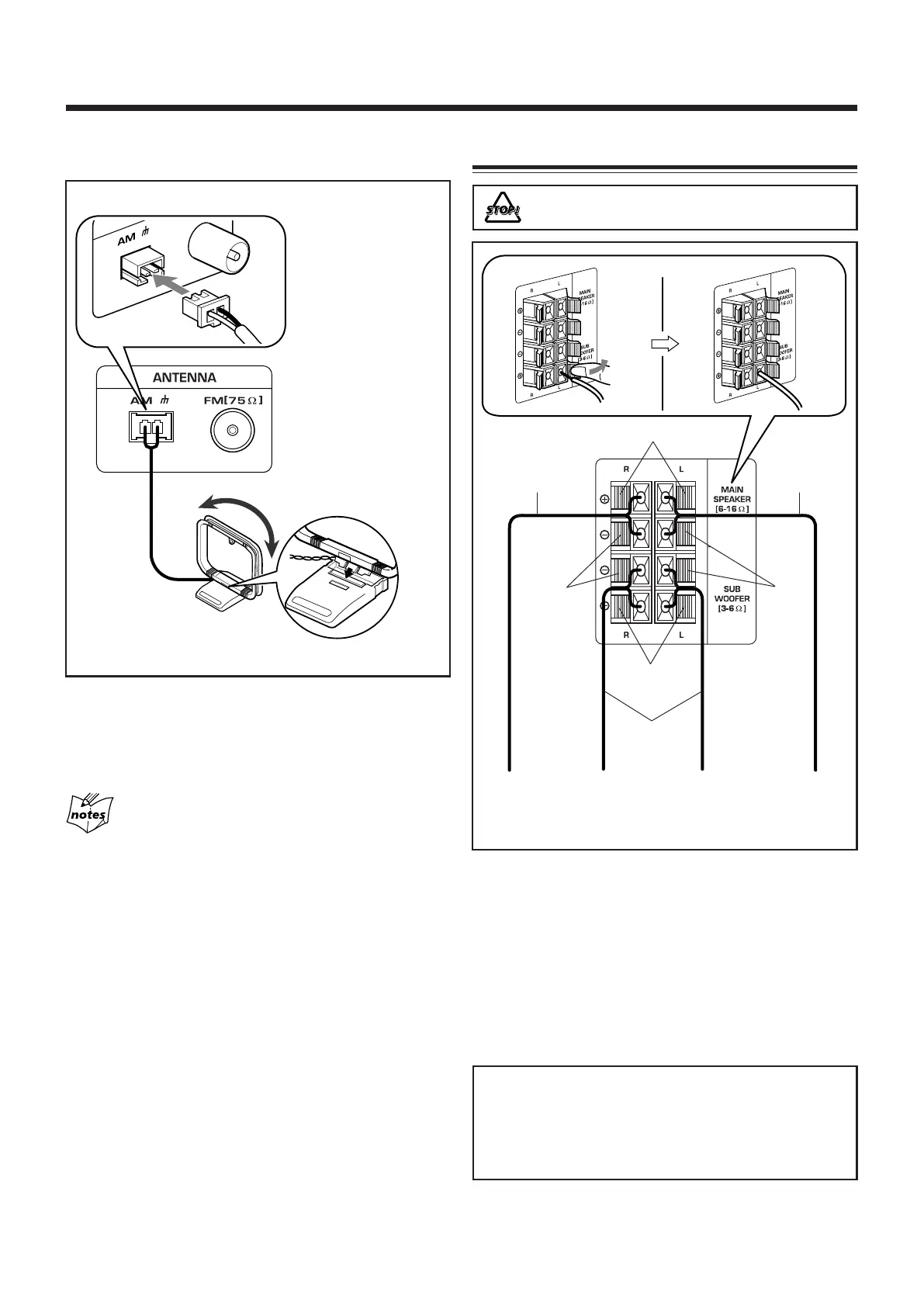
Connect the AM antenna to the AM terminal
on the rear of the unit.
2
Turn the AM loop antenna until you have the
best reception.
For better reception of both FM and AM
Make sure the antenna conductors do not touch any other
terminals and connecting cords.
•Keep the antennas away from metallic parts of the unit,
connecting cords, and the AC power cord.
1
Press and hold the clamp of the speaker
terminal on the rear of the unit.
2
Insert the end of the speaker cord into the
terminal.
Match the colors (polarity): Blue (+) to blue (+) and black
(–) to black (–); red (+) to red (+) and black (–) to black
(–).
3
Release the finger from the clamp.
IMPORTANT:
Use only speakers with the same speaker impedance as
indicated by the speaker terminals on the rear of the
unit.
DO NOT connect more than one speaker to one speaker
terminal.
AM antenna
AM loop antenna
(supplied)
Connecting Speakers
From left
main
speaker’s
terminals
Speaker cord
(red/black)
From left
subwoofer’s
terminals
From right
main
speaker’s
terminals
From right
subwoofer’s
terminals
1
Black
Black
Blue
1
DO NOT carry the speaker by holding the tube
duct (on the top of the speaker).
2
2, 3
Red
Speaker cord
(blue/black)
Speaker cord
(blue/black)
MXC55[J]_01-08.p65 2/16/06, 2:46 PM7

Related product manuals