EasyManua.ls Logo

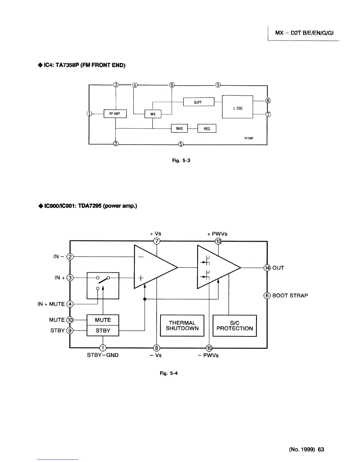
JVC MX-D2T - TA7358 P FM Front End IC Diagram; TDA7295 Power Amplifier IC Diagram

JVC MX-D2T
104 pages
Print Icon
To Next Page IconTo Next Page
To Next Page IconTo Next Page
To Previous Page IconTo Previous Page
To Previous Page IconTo Previous Page
Loading...

Table of Contents

Related product manuals