EasyManua.ls Logo

JVC MX-GT70 - Connecting Speakers

JVC MX-GT70
34 pages
Print Icon
To Next Page IconTo Next Page
To Next Page IconTo Next Page
To Previous Page IconTo Previous Page
To Previous Page IconTo Previous Page
Loading...
– 7 –
1
Connect the AM loop antenna to the AM
LOOP terminals as illustrated.
If the AM loop antenna wire is covered
with vinyl, remove the vinyl by twisting
it as shown in the diagram.
2 Turn the AM loop antenna until you have the
best reception.
To connect an outdoor AM antenna
When reception is poor, connect a single vinyl-covered wire
to the AM EXT terminal and extend it horizontally. (The AM
loop antenna must remain connected.)
For better reception of both FM and AM
Make sure the antenna conductors do not touch any other
terminals and connecting cords.
Keep the antennas away from metallic parts of the unit,
connecting cords, and the AC power cord.
AM antenna
Vinyl-covered wire
(not supplied)
AM loop antenna
(supplied)
COAXIAL
ANTENNA
AM LOOP
FM 75
AM EXT
1
2
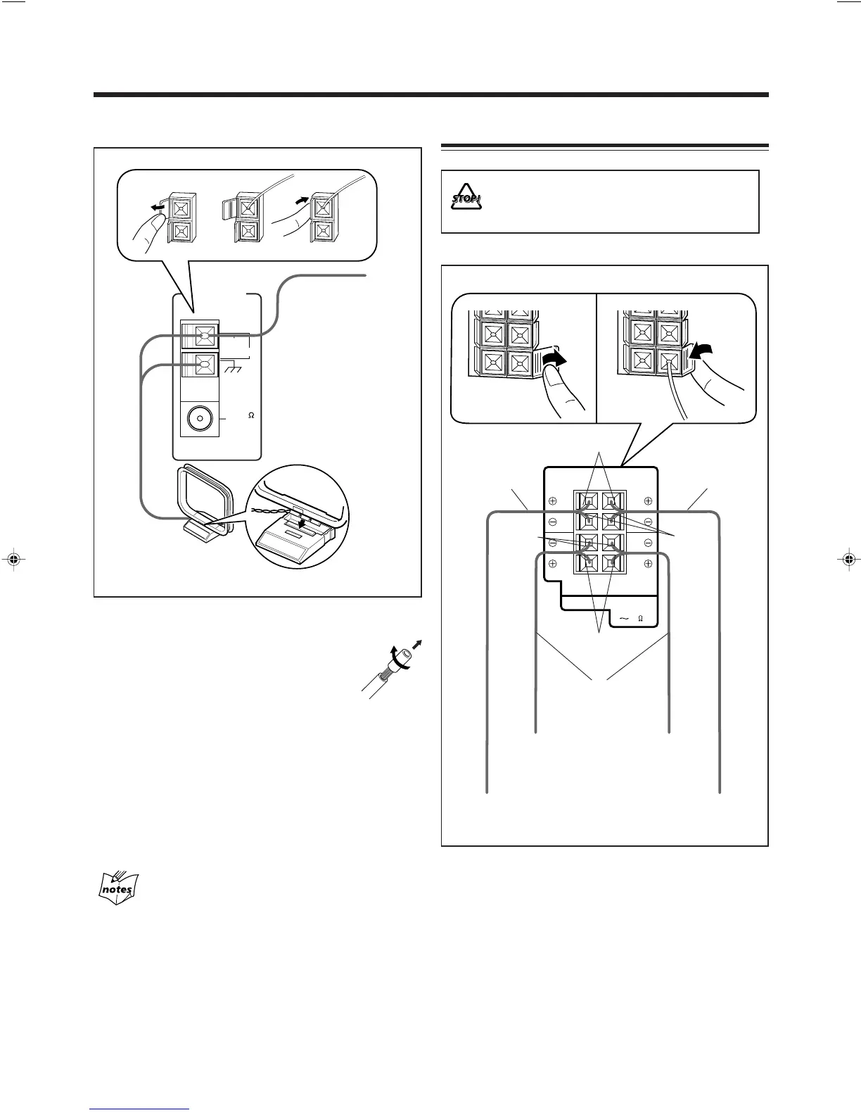
Connecting Speakers
SUBWOOFERS
MAIN
SPEAKERS
CAUTION: SPEAKER
IMPEDANCE
616
LEFT
LEFT
RIGHT
RIGHT
Blue
1
3
From front
right speaker
From front
left speaker
Black
Red
Speaker cords
(blue/black)
From right
subwoofer
From left
subwoofer
Speaker cords
(red/black)
Speaker cords
(red/black)
Black
For MX-GT90 and MX-GT80:
DO NOT carry the speaker by holding the duct
tube (on the top of the speaker).
2
EN01-12.MX-G90&80&70[J]f 12/20/00, 10:57 PM7

Related product manuals