EasyManua.ls Logo

JVC NX-MD1R - Page 27

JVC NX-MD1R
69 pages
To Next Page IconTo Next Page
To Next Page IconTo Next Page
To Previous Page IconTo Previous Page
To Previous Page IconTo Previous Page
Loading...
NX-MD1R/NX-MD1
1-27
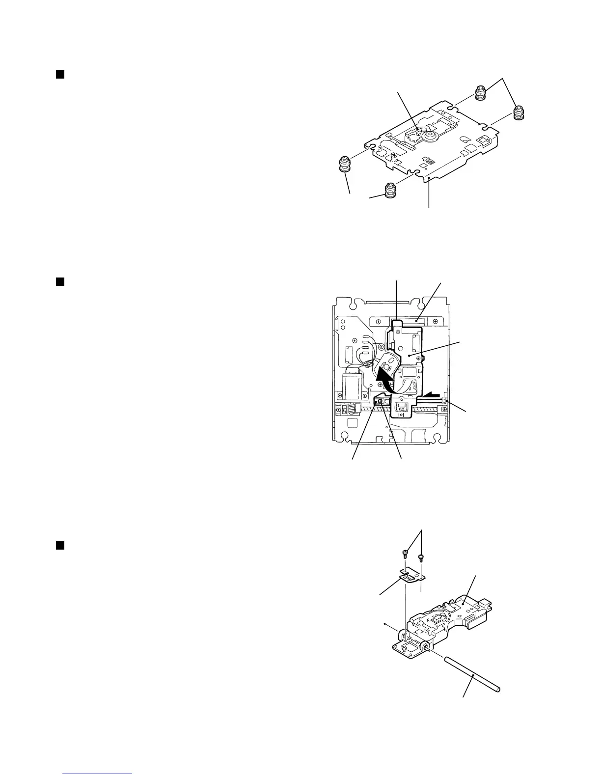
Disengage the four insulators from the notches of the
traverse mechanism chassis.
1.
Removing the Insulators (See Fig.16)
Turn over the traverse mechanism assembly and
remove the screw K attaching the shaft holder (F).
Move the shaft inward and remove it from the shaft
holder (R).
Detach the shaft side of the pickup unit upward and
release the joint h with the pickup guide. Then
remove the pickup unit with the shaft.
1.
2.
3.
Removing the pickup unit (See Fig.17)
Draw out the shaft from the pickup.
Remove the two screws L attaching the rack spring.
1.
2.
Removing the pickup (See Fig.18)
<Traverse mechanism assembly section>
Fig.16
Fig.17
Fig.18
L
K
Insulators
Insulators
Joint h
Pickup guide
Pickup unit
Shaft holder (F)
Shaft holder (R)
Pickup unit
Traverse machanism chassis
Shaft
Pickup
Rack spring

Related product manuals