EasyManua.ls Logo

JVC RC-XC3BK - Tracking section

JVC RC-XC3BK
90 pages
Print Icon
To Next Page IconTo Next Page
To Next Page IconTo Next Page
To Previous Page IconTo Previous Page
To Previous Page IconTo Previous Page
Loading...
RC
XC3BK
B/E/EN/G/GI
@
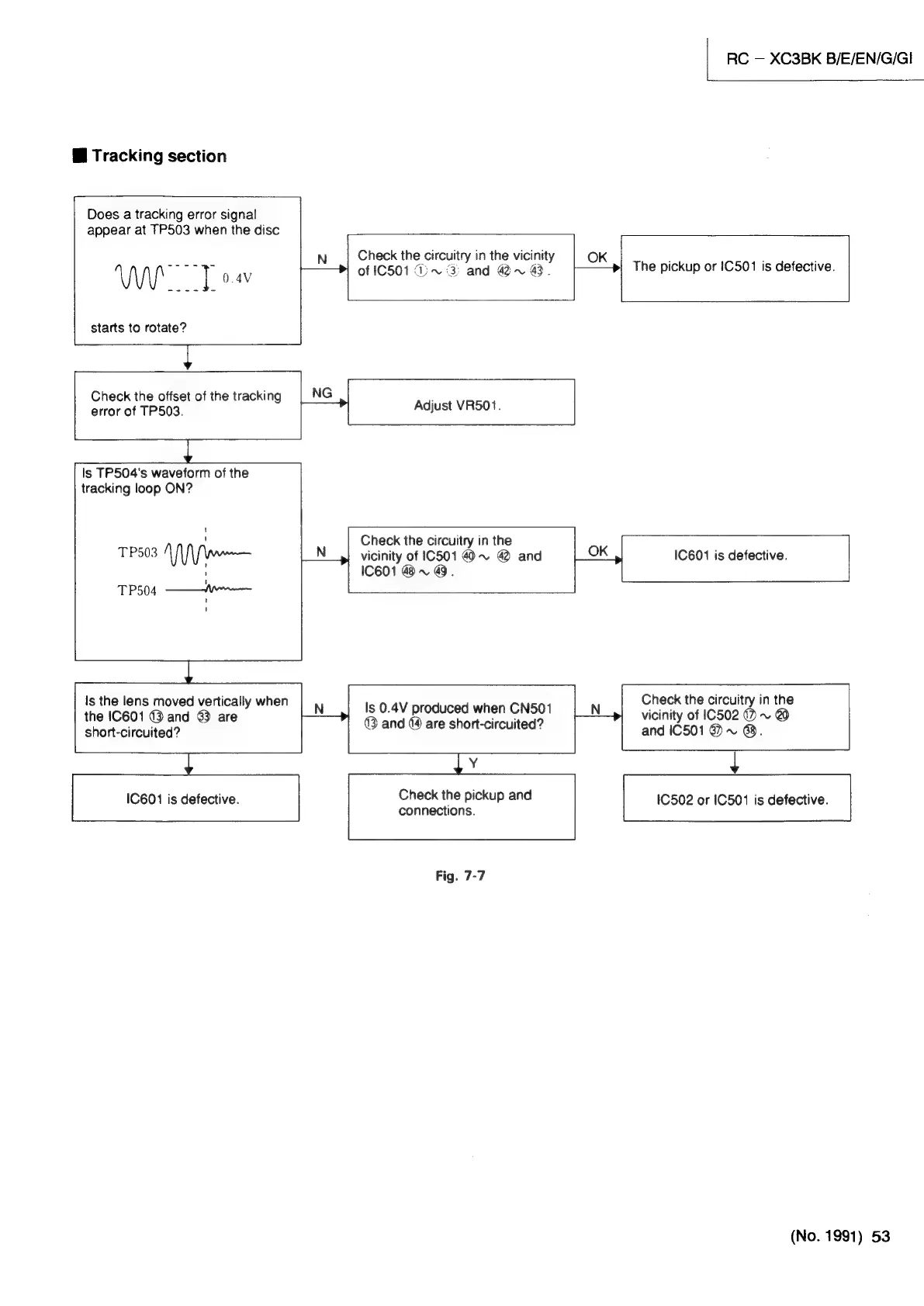
Tracking
section
Does
a
tracking
error
signal
appear
at
TP503
when
the
disc
N
Check
the
circuitry
in
the
vicinity
OK
; ; :
VINA
----
T
ei
t+——+|
of
(0501
i.
3
and
@.@.
The
pickup
or
C501
is
defective.
starts
to
ST
Check
the
offset
of
the
tracking
NG
;
error
of
TP503.
(iene
Adjust
VR501.
Is
TP504's
waveform
of
the
tracking
loop
ON?
Check
the
circuitry
in
the
vicinity
of
1C501
40
~
@
and
IC601
@~@.
IC601
is
defective.
Check
the
circuitry
in
the
vicinity
of
IC502
)
~
@
and
IC501
@~
@.
Is
the
lens
moved
vertically
when
the
IC601
@
and
63
are
short-circuited?
ey
Y
|
IC601
is
defective.
Check
the
pickup
and
IC502
or
IC501
is
defective.
connections.
Fig.
7-7
Is
0.4V
produced
when
CN501
®
and
4
are
short-circuited?
(No.
1991)
53

Related product manuals