EasyManua.ls Logo

JVC RC-XC3BK - Spindle motor section; Signal processing section

JVC RC-XC3BK
90 pages
Print Icon
To Next Page IconTo Next Page
To Next Page IconTo Next Page
To Previous Page IconTo Previous Page
To Previous Page IconTo Previous Page
Loading...
RC
XC3BK
B/E/EN/G/GI
BB
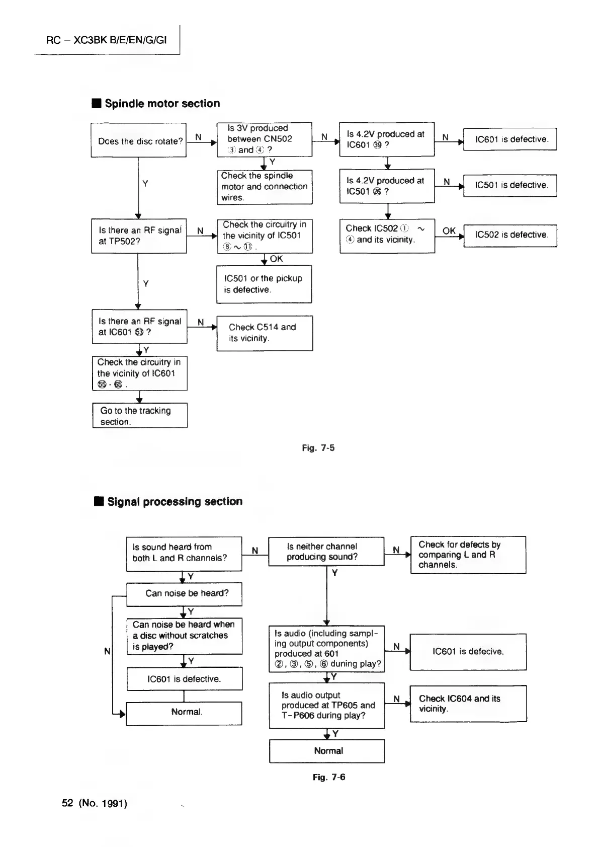
Spindle
motor
section
Does
the
disc
rotate?
|_—_»
Is
there
an
RF
signai
at
TP502?
Is
there
an
RF
signal
at
IC601
63
?
Check
the
circuitry
in
the
vicinity
of
IC601
-6.
Go
to
the
tracking
section.
@
Signal
processing
section
!s
sound
heard
from
both
L
and
R
channels?
Y
Can
noise
be
heard?
Y
Can
noise
be
heard
when
a
disc
without
scratches
is
played?
Y
IC601
is
defective.
52
(No.
1991)
Is
3V
produced
between
CN502
3
and
@
?
Check
the
spindle
motor
and
connection
wires.
Check
the
circuitry
in
the
vicinity
of
IC501
Crd.
1C501
or
the
pickup
is
defective.
Check
C514
and
its
vicinity.
IC601
89
?
IC501
@&
?
Fig.
7-5
Is
neither
channel
N
producing
sound?
Y
Is
audio
(including
sampl-
ing
output
components)
produced
at
601
@,@,
©,
©
duning
play?
Is
audio
output
produced
at
TP605
and
T-
P606
during
play?
Is
4.2V
produced
at
Is
4.2V
produced
at
Check
IC502
(1)
(4)
and
its
vicinity.
IC601
is
defective.
IC501
is
defective.
~~
IC502
is
defective.
Check
for
defects
by
comparing
L
and
R
channels.
IC601
is
defecive.
Check
IC
604
and
its
vicinity.

Related product manuals