EasyManua.ls Logo

JVC RC-XC3BK - Feed section; Focus section

JVC RC-XC3BK
90 pages
Print Icon
To Next Page IconTo Next Page
To Next Page IconTo Next Page
To Previous Page IconTo Previous Page
To Previous Page IconTo Previous Page
Loading...
RC
XC3BK
B/E/EN/G/GI
@
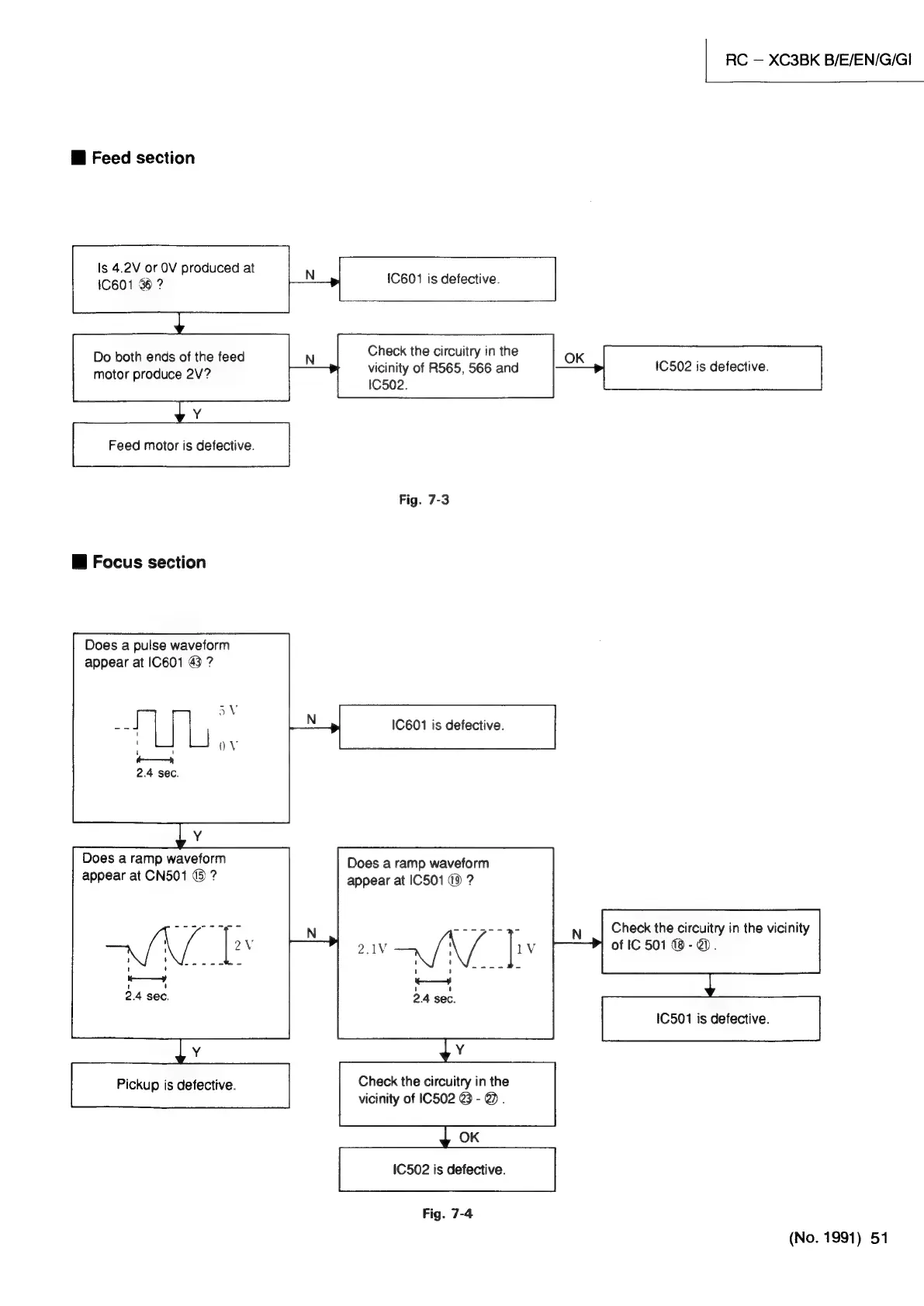
Feed
section
Is
4.2V
or
OV
produced
at
IC601
36
?
IC601
is
defective.
Check
the
circuitry
in
the
vicinity
of
R565,
566
and
1C502.
Do
both
ends
of
the
feed
motor
produce
2V?
Feed
motor
is
defective.
OK
IC502
is
defective.
Fig.
7-3
W@
Focus
section
Does
a
pulse
waveform
appear
at
IC601
@
?
TUL
'
©
LI
ov
eS
2.4
sec.
N
IC601
is
defective.
Does
a
ramp
waveform
appear
at
CN501
45
?
Does
a
ramp
waveform
appear
at
IC501
(9
?
N N
Check
the
circuitry
in
the
vicinity
of
IC
501
@-
@.
IC501
is
defective.
Y
Pickup
is
defective.
Check
the
circuitry
in
the
vicinity
of
IC502
@
-
@.
OK
IC502
is
defective.
Fig.
7-4
(No.
1991)
51

Related product manuals