EasyManua.ls Logo

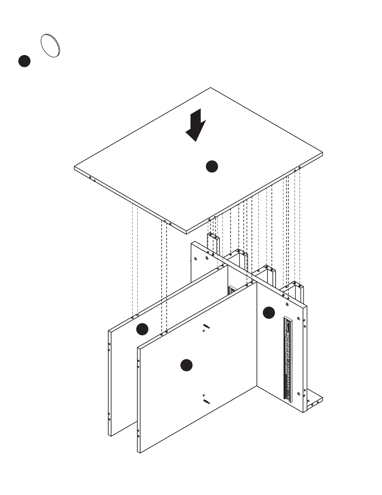
Kangaroo Ava 9301B - Attach Panel D to Assembled Structure

Kangaroo Ava 9301B
30 pages
Print Icon
To Next Page IconTo Next Page
To Next Page IconTo Next Page
To Previous Page IconTo Previous Page
To Previous Page IconTo Previous Page
Loading...
Assembly InstructionsAva
10
Step 1: Cabinet Shell
D
F2
F1
Z
5
8
“ Cam Cover x9
c2
Carefully lower Panel D onto the assembled panels as
shown, inserting cam bolts into cam locks, tightening,
and applying c2 Cam Covers.

Related product manuals