EasyManua.ls Logo

Kangaroo Hoppers - Step 1 - Trampoline Frame Assembly; Top Rail with Leg Sockets; Left L-Shaped Top Rail; Right L-Shaped Top Rail

Kangaroo Hoppers
16 pages
Print Icon
To Next Page IconTo Next Page
To Next Page IconTo Next Page
To Previous Page IconTo Previous Page
To Previous Page IconTo Previous Page
Loading...
ASSEMBLY AND ADJUSTMENT
7
STEP 1
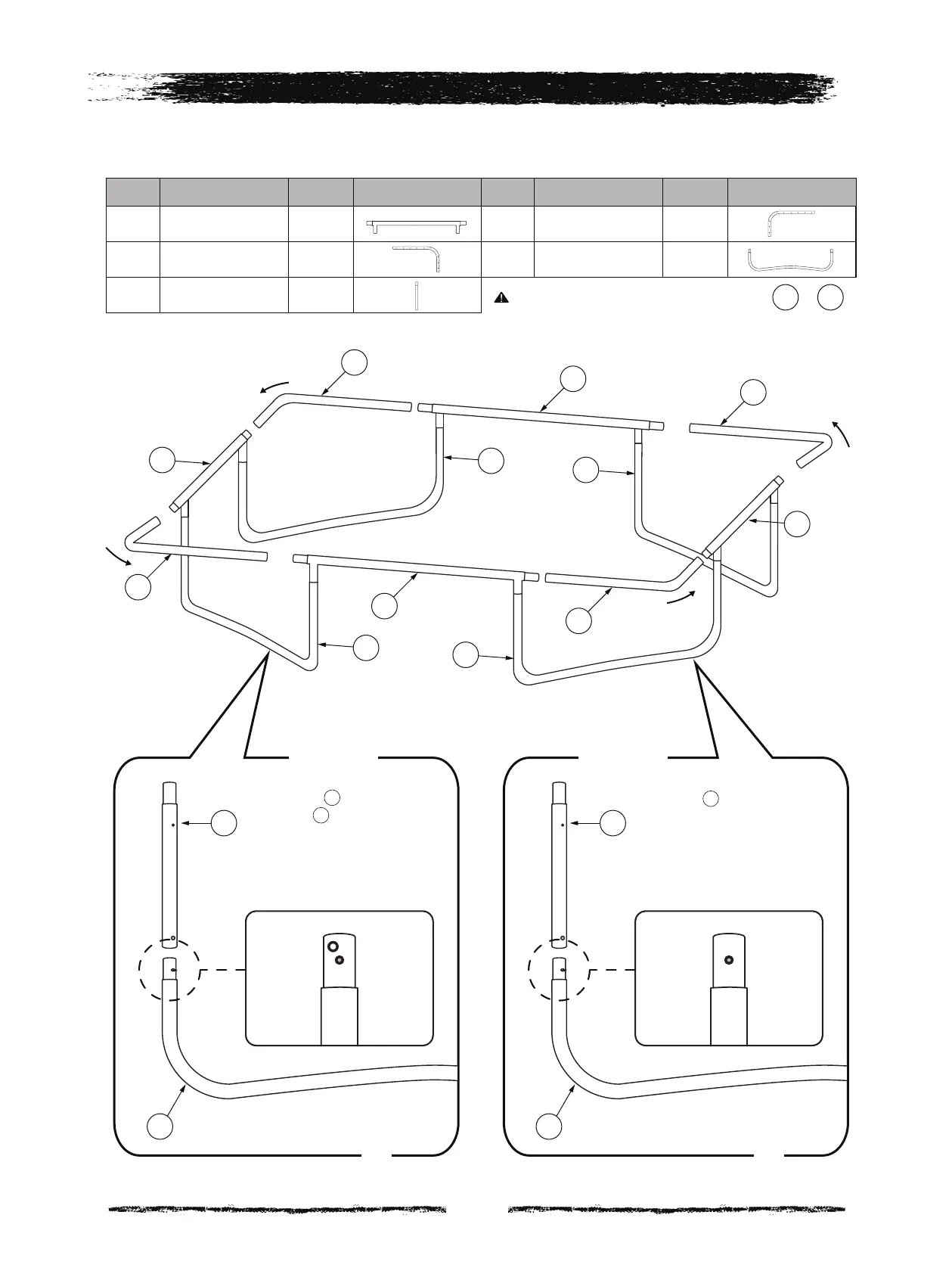
TRAMPOLINE FRAME ASSEMBLY
There are two different kinds W-Legs, & .
NO. Part Q’ty Diagram
1
Top Rail with
Leg Sockets
4 pcs
3
Right L-Shaped
Top Rail
2 pcs
5
Vertical
Leg Extension
8 pcs
NO. Part Q’ty Diagram
2
Left L-Shaped
Top Rail
2 pcs
4
W-Shaped
Leg Base
4 pcs
1
3
2
1
3
2
1
1
5 5
STEP 1c
STEP 1c
STEP 1c
STEP 1c
X2 X2
STEP 1a STEP 1b
Assemble support
frames ( W-legs have a
hole next to one side of the
small bead) to the straight
top rails.
Install support
frames to the straight
top rails.
(Two People Are Required)