EasyManua.ls Logo

Kärcher K 2.150 - Model Overview

Kärcher K 2.150
48 pages
Print Icon
To Next Page IconTo Next Page
To Next Page IconTo Next Page
To Previous Page IconTo Previous Page
To Previous Page IconTo Previous Page
Loading...
English 3
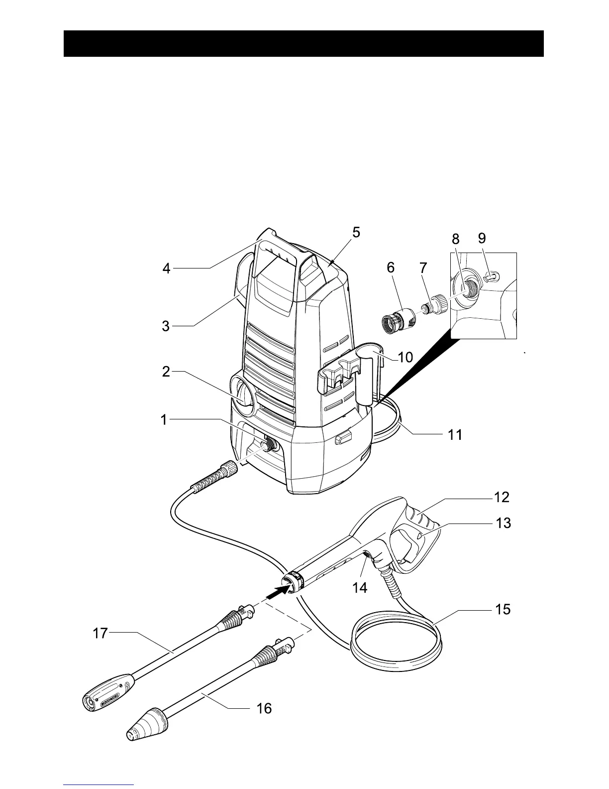
1 High pressure outlet
2 ON/OFF switch
3 Hose/Cord Hook
4 Handle
5 Spray Wand Storage
6 Garden hose connector (female)
7 Water inlet connector
8 Water inlet
9 Detergent siphon tube with filter
10 Accessories holder
11 Power cord with Ground Fault Circuit
Interrupter (GFCI)
12 Trigger gun
13 Trigger gun safety lock
14 Key to disconnect the high pressure
hose from the trigger gun
15 High pressure hose
16 Dirtblaster
®
(Rotary spray wand)
17 Vario Power Spray wand
MODEL OVERVIEW

Other manuals for Kärcher K 2.150

Related product manuals