EasyManua.ls Logo

Kärcher K 2 Compact - Page 3

Kärcher K 2 Compact
48 pages
Print Icon
To Next Page IconTo Next Page
To Next Page IconTo Next Page
To Previous Page IconTo Previous Page
To Previous Page IconTo Previous Page
Loading...
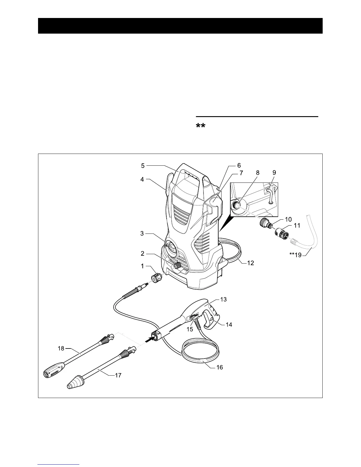
 3
1    
2  
 
 
5 
6   
7   
 
9     
10   
11    ()
12      
 ()
1  
1    
15      
16  
17 
(  )
1    
Not included in the delivery
19  
MODEL OVERVIEW

Other manuals for Kärcher K 2 Compact

Related product manuals