EasyManua.ls Logo

Kawai CS8 - Keyboard Unit Parts

Kawai CS8
35 pages
Print Icon
To Next Page IconTo Next Page
To Next Page IconTo Next Page
To Previous Page IconTo Previous Page
To Previous Page IconTo Previous Page
Loading...
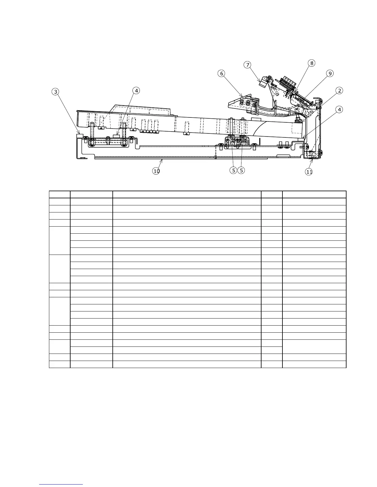
P29 Keyboard Unit Parts
WR88 Type Keyboard
No.
Qty
1
2
1
2
BALANCE PUNCHING
88
(20)
(20)
(20)
15
17
31
25
1
1
6
1
1
1
5
1
-
-
-
-
950907
CHASSIS CUSHION (t2)
816723
HIMELON 15
798916
SILICONE OIL SH200 TORAY DOW CORNING
Use for SLIP TAPE
799018
SILICONE OIL SH200 TSF451-350 MONTATIVE PAFORMANCE MATEIALS JAPAN
798896
SLIDE GREASE G-524 KANTO KASEI
Use for Let-off
799020
TORGUE GREASE TKH-65 KANTO KASEI
Use for Hammer
816722
HAMMER UPPER-LIMIT CUSHION
239036
PWB ASSY KKB-039(2)
Include Rubber Contact
954200
RUBBER CONTACT A-G#
954200
RUBBER CONTACT A-E
Cut Rubber Contact A-G#
954200
RUBBER CONTACT F-G#
Cut Rubber Contact A-G#
954200
RUBBER CONTACT A-C
Cut Rubber Contact A-G#
811313
FRONT FELT (B)
813637
814422
BALANCE PAPER PUNCHING No.9 t0.26*φ12.5
Use For key height adjust
814423
BALANCE PAPER PUNCHING No.10 t0.12*φ12.5
Use For key height adjust
814424
BALANCE PAPER PUNCHING No.11 t0.07*φ12.5
Use For key height adjust
274760
HAMMER ASSY W/B1
274761
HAMMER ASSY W/B2
274762
HAMMER ASSY W/B3
274763
HAMMER ASSY W/B4
Parts Code
Parts Name
Remarks
954187
KEYBOARD
88key set
954801
SLIP TAPE
Use 2pcs for 1unit
811314
BACK RAIL FELT

Related product manuals