EasyManua.ls Logo

KEF KC62 - Controls; Crossover Frequency Control & Mode

KEF KC62
15 pages
Print Icon
To Next Page IconTo Next Page
To Next Page IconTo Next Page
To Previous Page IconTo Previous Page
To Previous Page IconTo Previous Page
Loading...
16 17
ControlsControls
DE
Direkte Einstellung
FR
Reglages manuels
ES
Controles manuales
JA
手動による設定
CHI-S
手動調節
CHI-T
手動調節
KR
제어
DE
Direkte Einstellung
FR
Reglages manuels
ES
Controles manuales
JA
手動による設定
CHI-S
手動調節
CHI-T
手動調節
KR
제어
FR Contrôle mode et fréquence de transition
Cette commande modifie la fréquence de coupure supérieure du subwoofer. Sa plage
de réglage efficace s’échelonne de 40Hz à 140Hz à un taux de 24 dB par octave. La
commande de fréquence doit être réglée de manière à obtenir la parfaite intégration entre
les hautparleurs principaux/satellites et le subwoofer.Une rotation dans le sens horlogique
relèvera la fréquence de coupure et une rotation dans le sens anti-horlogique abaissera la
fréquence de coupure.
Sore Combinée Sore Subwoofer Sore Satellite
1. Croisement idéal - Réponse plate.
2. Point de croisement réglé trop bas - provoque um creux en réponse combinée.
3. Point de croisement réglé trop haut - provoque une boss en réponse combinée.
Si votre récepteur / préamplificateur n’a pas de filtre de caissons de basses
1. Réglez le bouton "Mode" sur "MANUAL"
2. Commencez par régler le filtre du caisson à 80Hz puis ajustez le vers le haut ou le bas
jusqu'à ce que vous obteniez la meilleure association à vos enceintes.
Si votre amplificateur / récepteur / préamplificateur AV possède un filtre de caisson de
basses
1. Réglez le bouton "Mode" sur "LFE"
2. Commencez par régler le filtre de l'amplificateur / récepteur AV / préampli à 80Hz puis
ajustez le vers le haut ou le bas jusqu'à ce que vous obteniez la meilleure association à
vos enceintes.
ES Modo y control de frecuencia de cruce
El control de frecuencia cambia el umbral superior de la frecuencia del altavoz de graves.
Su intervalo efectivo va desde 40 a 140 Hz a un régimen de 24 dB por octava. El control
de frecuencia debe ajustarse para obtener la integración más suave entre los altavoces
principal/satélite y los altavoces de graves.
El giro en el sentido de las agujas del reloj incrementa la frecuencia de corte y en sentido
contrario la decrementa.
Salida Combinada Salida de Subwoofer Saleda de Satélite
1. Frecuencia de cambio ideal. Respuesta plana.
2. El punto de frecuencia de cambio fijado demasiado bajo causa una depresión en la
respuesta combinada.
3. El punto de frecuencia de cambio fijado demasiado alto causa una cresta en la
respuesta combinada.
Si su receptor o preamplificador no tiene un cruce de altavoz de subgraves, haga lo
siguiente:
1. Establezca el botón “MODE” en “MANUAL.
2. Comience con el cruce en el altavoz de subgraves a 80 Hz y aumente o disminuya la
frecuencia hasta que encuentre la mejor coincidencia con sus altavoces.
Si su amplificador, receptor o preamplificador AV tiene un cruce de subgraves, haga lo
siguiente:
1. Establezca el botón “MODE” en “LFE”.
2. Comience con el cruce en el amplificador, receptor o preamplificador AV a 80 Hz y
aumente o disminuya la frecuencia hasta que encuentre la mejor coincidencia con sus
altavoces.
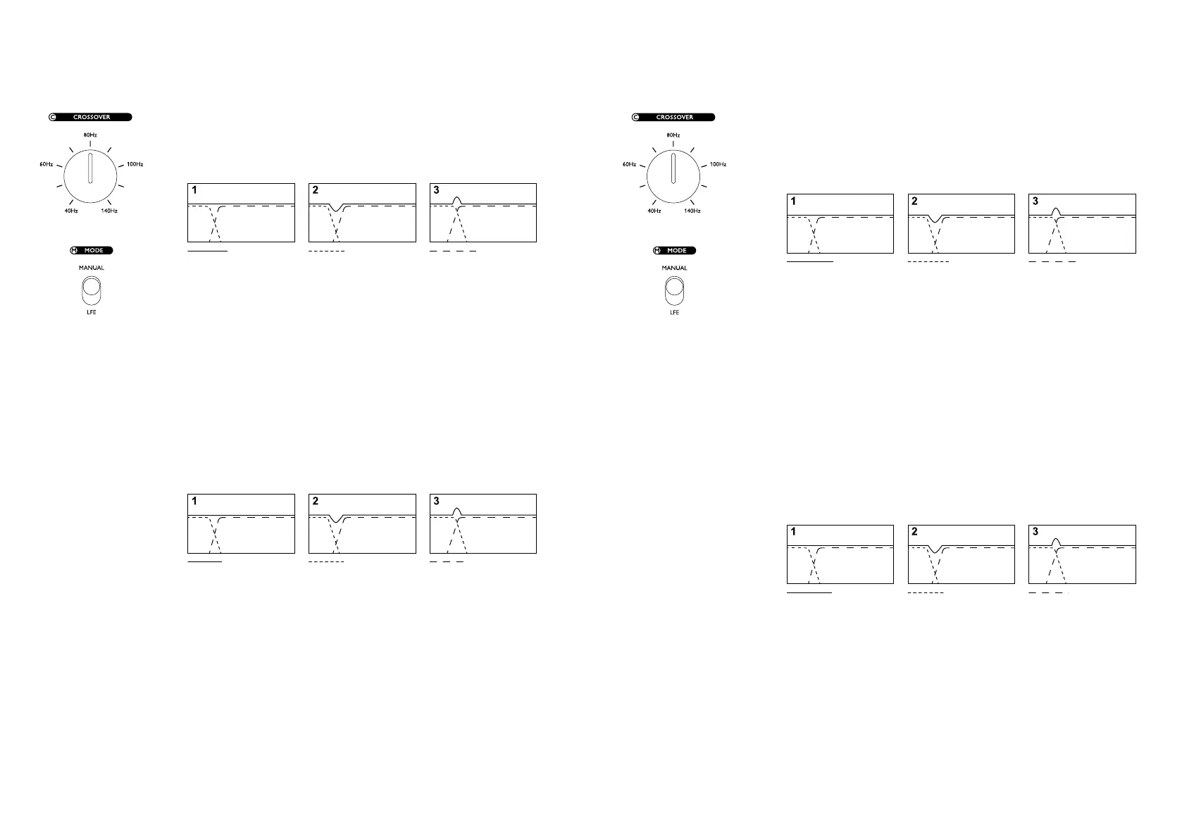
EN Crossover frequency control & mode
The crossover frequency control changes the upper cut-off frequency of the subwoofer. Its
effective range is from 40Hz to 140Hz at a rate of 24dB per octave. The frequency control
should be adjusted to achieve the smoothest integration between the main/satellite speakers
and the subwoofer. Clockwise rotation will increase the cut-off frequency and anti-clockwise
rotation will decrease the cut-off frequency.
Combined Output Subwoofer Output Satellite Output
1. Ideal crossover - flat response.
2. Crossover point set too low - causes dip in combined response.
3. Crossover point set too high - causes hump in combined response.
If your receiver/ preamp does not have a subwoofer crossover
1. Set the “Mode” button to MANUAL.
2. Start with the crossover on the subwoofer at 80Hz and adjust up or down till you find
best match with your speakers.
If your AV amplifier/ receiver/ preamp has a subwoofer crossover
1. Set the “Mode” button to LFE
2. Start with the crossover on the AV amplifier/ receiver / preamp at 80Hz and adjust up or
down till you find best match with your speakers.
DE Einstellung der Trennfrequenzen & Modi
Die Frequenzeinstellung ändert die obere Trennfrequenz des Subwoofers, Der Einstellbereich
reicht von 40 Hz bis 140 Hz; die Flankensteilheit beträgt 24 dB Oktave. Der Regler sollte
so eingestellt sein, daß Frontlautsprecher und Subwoofer optimal zusammenarbeiten; d.h.
es sind weder “Frequenzlücken” vorhanden, noch findet eine Überbetonung bestimmter
Grenzfrequenzen statt. Durch Rechtsdrehen (im Uhrzeigersinn) wird die Trennfrequenz
erhöht. Durch Linksdrehen (gegen den Uhrzeigersinn) wird sie gesenkt.
Kombinierter Ausgang
(ungeltertes Signal)
Subwoofer-Ausgang
(nur erequente
Signalanteile)
Satelliten-Ausgang
(ohne erequente
Signalanteile)
1. Ideale Trennfrequenz : flacher Frequenzgang
2. Übergangspunkt zu niedrig: Verursacht eine “Frequenzlücke” im kombinierten
Frequenzgang
3. Übergangspunkt zu hoch: verursacht eine Überbetonung bestimmter Frequenzen im
kombinierten Frequenzgang
Falls Ihr Receiver/Vorverstärker keine Subwoofer-Einstellung besitzt.
1. Stellen Sie die Taste "Mode" auf MANUAL.
2. Beginnen Sie mit der Frequenzweiche auf dem Subwoofer bei 80Hz und stellen Sie die
obere Seite nach unten ein, bis Sie die beste Abstimmung für Ihre Lautsprecher finden.
Wenn Ihr AV-Verstärker/Receiver/Vorverstärker über eine Subwoofer-Einstellung verfügt.
1. Stellen Sie die Taste "Mode" auf LFE.
2. Beginnen Sie mit der Frequenzweiche am AV-Verstärker/Receiver/Vorverstärker bei
80Hz und stellen Sie sie nach oben oder unten ein, bis Sie die beste Abstimmung für Ihre
Lautsprecher finden.

Related product manuals